MOTOCYKL
DNIEPR 16
Modele KM3-8.922-02, KM3-8.922-6
INSTRUKCJA
OBSŁUGI KM3-8.922 P3
WSTĘP
"Dniepr-16"
motocykl o podwyższonej zdolności pokonywania przeszkód
terenowych. Jego osobliwości konstrukcyjne to: napęd na
koło wózka bocznego, przekładnia wstecznego
biegu, czterotaktowy górnozaworowy silnik i część
dla załogi.
Motocykl
eksploatuje się tylko z wózkiem bocznym. Odróżnia
się prostotą i wygodą jazdy, dobrymi parametrami
dynamicznymi, komfortem, względnie małą
pracochłonnością przy obsłudze technicznej i
ekonomicznością w czasie eksploatacji. |

|
WYMOGI
BEZPIECZEŃSTWA I OSTRZEŻENIA
UWAGA!
W trakcie pierwszych 2.500 km przebiegu wszystkie mechanizmy
motocykla ulegają dotarciu. W tym okresie zabrania się
przeciążać silnik i przekraczać maksymalnych
prędkości motocykla podanych w rozdziale "Docieranie
nowego motocykla".
Skracanie terminu, po którym
należy zdjąć ograniczniki otwarcia przepustnicy
gaźnika, jest zabronione.
Paliwo (etylina) stosowana w
silniku jest silnie toksyczna. Dlatego nie należy używać
jej w zamkniętym pomieszczeniu.
Przed usunięciem
nagaru z powierzchni komory spalania w cylindrach, spodów
tłoków i główek zaworów należy
oczyścić nagar naftą lub rzadkim olejem, co
zapobiega utworzeniu się pyłu ołowianego.
Nie
należy dla oświetlenia lub podgrzania oleju w obudowach
podzespołów używać odkrytego
płomienia.
Należy pamiętać, że
spaliny są trujące. Dlatego pomieszczenie, w który
uruchamia się i podgrzewa silnik musi być odpowiednio
wentylowane.
Przy pracach związanych z przemywaniem
benzyną nie należy uruchamiać silnika przed
całkowitym wyschnięciem benzyny. |
SILNIK
I UKŁAD ZASILANIA
| Typ
silnika: |
Czterotaktowy,
gaźnikowy, górnozaworowy, dwucylindrowy |
| Robocza
pojemność cylindrów: |
649
cm³ |
| Stopień
sprężania: |
7,0
(8,5) |
| Średnica
cylindrów: |
78
mm |
| Skok
tłoka: |
68
mm |
| Maksymalna
moc: |
23,5
kW / 32 KM |
| Prędkość
obrotowa wału korbowego odpowiadająca maksymalnej
mocy: |
5200
obr/min |
| Maksymalny
moment obrotowy: |
47
Nm / 4,8 kGm |
| Gaźniki: |
K63T |
| Paliwo: |
Etylina
76 lub 72 (Etylina 93) |
| Filtr
powietrza: |
Z
wkładem papierowym |
| Chłodzenie: |
Strumieniem
powietrza |
|
CHARAKTERYSTYKA
TECHNICZNA
| WSKAŹNIK |
MODEL |
| |
KM3-8.922-02
(KM3-8.9226) |
| Wymiary
motocykla z wózkiem bocznym: |
|
| Długość: |
2430
mm |
| Wysokość: |
1080
mm |
| Szerokość: |
1700
mm |
| Podstawa,
nie więcej: |
1510
mm |
| Rozstaw
kół, nie więcej: |
1200
mm |
| Prześwit
pod zawieszeniem, nie mniej: |
125
mm |
| Maksymalne
obciążenie łącznie z masą kierowcy i
dwoma pasażerami, nie więcej: |
260
kg |
| Maksymalna
prędkość, nie mniej |
95
km/h |
| Zużycie
paliwa na 100 km, nie więcej |
8,0
l |
| Zużycie
paliwa przy jeździe miejskiej na 100 km, nie więcej: |
10,0
l |
| Zużycie
oleju na 100 km, nie więcej: |
0,15
l |
| Droga
hamowania przy 80 km/h, nie więcej: |
49,2
m |
| Ciężar,
nie więcej: |
355
kg |
|
UKŁAD
NAPĘDOWY
| Sprzęgło: |
Suche,
dwutarczowe |
| Skrzynia
biegów: |
Czterostopniowa,
z przekładnią biegu wstecznego |
| Przełączanie
biegów: |
Pedał
nożny dla włączania czterech biegów,
ręczna dźwignia dla włączania biegu
wstecznego |
| Stosunek
przekładni skrzyni biegów: |
|
| I
bieg: |
4,11 |
| II
bieg: |
2,28 |
| III
bieg: |
1,70 |
| IV
bieg: |
1,30 |
| Bieg
wsteczny: |
3,67 |
| Przekładnia
główna: |
Para
stożków z zębem kolistym |
| Stosunek
głównej przekładni: |
4,62 |
| Stosunek
przekładni reduktora koła wózka bocznego: |
2,4 |
| Przełożenie
na koło tylne: |
Wał
kardana |
| Przełożenie
na koło wózka bocznego: |
Wał
kardana |
| Dyferencjał: |
Cylindryczny,
asymetryczny, współczynnik asymetrii 19:11 |
|
ZESPÓŁ
JEZDNY
| Rama: |
Rurkowa,
spawana |
| Zawieszenie
koła tylnego: |
Dźwigniowe
na sprężynowo-hydraulicznych dwustronnych
amortyzatorach ze skokową regulacją w zależności
od obciążenia |
| Widełki
przednie: |
Teleskopowe,
z amortyzatorami sprężynowo - hydraulicznymi z
odlewanymi korpusami; z regulowanymi stożkowymi,
rolkowymi łożyskami wzajemnie zamiennymi |
| Hamulce |
Bębnowe,
hamulec koła przedniego dwuszczękowy; koła
tylnego i koła wózka bocznego –
jednoszczękowy |
| Opony: |
3,75-19 |
| Wózek
boczny: |
Jednomiejscowy,
karoseria typu pasażerskiego, koła na zawieszeniu
dźwigniowym z amortyzatorem dwustronnym
sprężynowo-hydraulicznym, identycznym z
amortyzatorem tylnej części motocykla |
| Rama
wózka bocznego: |
Rurkowa,
spawana |
| Siodełka: |
Jedno
dwuosobowe (Dwa oddzielne lub jedno dwuosobowe) |
OSPRZĘT
ELEKTRYCZNY
| Akumulator: |
6MTC9 |
| Alternator: |
G424 |
| Regulator
napięcia: |
33.3702 |
| Układ
zapłonowy: |
Akumulatorowy,
12 V, z automatyczną regulacją kąta opóźnienia
zapłonu |
| Cewka
zapłonowa: |
B204 |
| Przerywacz
z układem opóźnienia zapłonu: |
PM
302A |
| Świece
zapłonowe: |
A14B
(A17B) |
| Sygnał
dźwiękowy: |
C205-G |
| Lampa
główna |
FG137-G |
|
POJEMNOŚCI
| Zbiornik
paliwa: |
19
l |
| Skrzynia
korbowa: |
2,20
l |
| Obudowa
skrzyni biegów: |
1,50
l |
| Obudowa
przekładni głównej: |
0,10
l |
| Dyferencjał: |
0,10
l |
| Reduktor
koła wózka bocznego: |
0,20
l |
| Pióro
widełek przednich: |
0,13
l |
| Amortyzator
zawieszenia: |
0,10
l |
DANE
PODSTAWOWE DLA REGULACJI I KONTROLI
| Kąt
opóźnienia zapłonu do punktu zwrotnego: |
32°-36°
(34°-38°) |
| Przerwa
na zaworze przy zimnym silniku (15-20°C): |
0,07
mm |
| Przerwa
na stykach przerywacza: |
0,4-0,6
mm |
| Przerwa
na elektrodach świecy: |
0,50-0,65
mm (0,60-0,75 mm) |
| Przerwa
pomiędzy ochronnikiem i zaciskiem cewki zapłonowej |
9
mm |
| Ruch
jałowy przedniego ramienia pedału zmiany biegów |
10-15
mm |
| Ruch
jałowy przedniego ramienia hamulca tylnego, nie więcej: |
45
mm |
| Ciśnienie
w oponach: |
|
| Przedniego
koła i wózka bocznego: |
0,15-0,16
MPa / 1,5-1,6 kGm/cm² |
| Tylnego
koła: |
0,25-0,26
MPa / 2,5-2,6 kGm/cm² |
| Odchyłka
płaszczyzn kół motocykla i wózka
bocznego na długości podstawy motocykla, nie więcej: |
0°
+-5 |
| Kąt
rozrzutu płaszczyzn tylnego koła i koła wózka
bocznego: |
0°
+-30' |
|
MECHANIZMY
STEROWANIA I PRZYRZĄDY
KONTROLNO
- POMIAROWE
UWAGA:
Pisownia nazw rosyjskich np. SWIET (ros. CBET) zgodnie z regułami
fonetycznymi
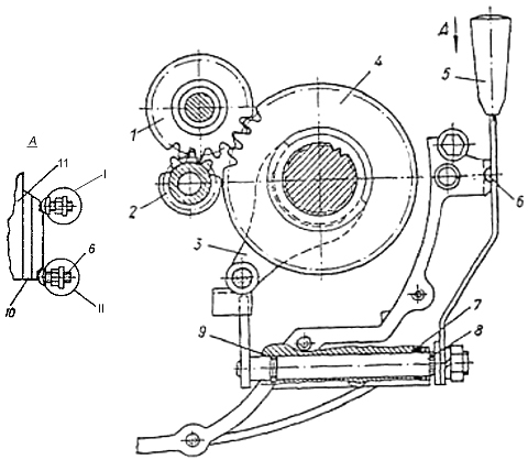
Rozmieszczenie mechanizmów sterowania
motocyklem i przyrządów kontrolno - pomiarowych
pokazano na rys.2
Przełącznik kombinacyjny 14
przeznaczony jest dla sterowania światłem długim i
krótkim (przełącznik DAL. - BLIŻ),
migaczami (przełącznik POWOROT) i sygnałem
dźwiękowym (przycisk),
Przełącznik migaczy
ma trzy położenia: środkowe - neutralne (migacze
wyłączone) i dwa skrajne, przy których są
włączone migacze po prawej lub lewej stronie
motocykla.
Przełącznik kombinacyjny 7 przeznaczony
jest dla załączenia odbiorników w reżimie
dziennym i nocnym (przełącznik SWIET) i awaryjnego
wyłączenia zapłonu (przełącznik DWIG.
STOP).
Przełącznik SWIET ma trzy położenia:
skrajne
prawe - światła postojowe i światła bliskie
reflektora wyłączone;
środkowe - włączone
światła postojowe ;
skrajne lewe - włączone
światła postojowe i światła bliskie
reflektora; Przełącznik DWIG. STOP ma dwa
położenia:
skrajne górne (od siebie) - obwód
zapłonu rozwarty, silnik nie pracuje;
skrajne dolne -
obwód zapłonu zamknięty, silnik gotowy do
pracy;
Wyłącznik masy znajduje się pod
siodełkiem i ma dwa położenia, przy których
obwód jest rozwarty lub zamknięty.
Stacyjka 1 jest
zamontowana na panelu przyrządów. Łącznik w
stacyjce może być ustawiony w jednym z trzech położeń
(rys.3):
0- kluczyk wstawiony do oporu - wszystkie przyrządy
wyłączone
I- kluczyk wstawiony do oporu i
przekręcony zgodnie ze wskazówkami zegara do
pierwszego zaznaczonego położenia: włączony
obwód zapłonu, napięcie podane na przycisk
sygnału dźwiękowego, na wyłącznik
sygnału hamowania, na przełącznik 7 (rys.2) i 14.
Na panelu przyrządów świecą przy
niepracującym silniku: lampka kontrolna reflektora 18
(czerwona) pracy alternatora i ładowania akumulatora; lampka
kontrolna lampy głównej 2 (czerwona), czujnika
awaryjnego ciśnienia oleju i lampka kontrolna lampy głównej
17 (zielona), wskaźnika położenia neutralnego
skrzyni biegów przy ustawionym podstawowym położeniu
neutralnym pomiędzy I i II biegiem; lampka kontrolna 4
(zielona) kierunkowskazów, gdy są włączone;
kontrolna lampka lampy głównej 19 (niebieska) świateł
długich, gdy są włączone, a rączka
przełącznika SWET znajduje się w lewym skrajnym
położeniu. W takim położeniu przełącznika
CBET, przełącznikiem świateł długich i
krótkich można włączyć światła
długie. Przy ustawieniu dźwigni przełącznika
SWET w położenie środkowe lub w skrajne lewe
położenie świecą również światła
postojowe tylnej lampy motocykla, przedniej i tylnej lampy wózka
bocznego, lampa główna i lampka oświetlenia
prędkościomierza.
Przy niepracującym silniku
nie zezwala się na pozostawianie kluczy w położeniu
I (rys.3). |
II
- kluczyk wstawiony do oporu i przekręcony zgodnie ze
wskazówkami zegara do drugiego zaznaczonego położenia.
Świecą się: lampka postojowa w lampie głównej,
w lampie tylnej motocykla, w przedniej i tylnej lampie wózka
bocznego. W tym położeniu kluczyk można wyjąć
ze stacyjki nie zmieniając wyżej opisanego
oświetlenia.
Rączka 8 służy do sterowania
przepustnicami gaźników. Przy obrocie raczki "na
siebie" przepustnice unoszą się, ilość
mieszanki dostającej się do cylindrów zwiększa
się, a w ślad za tym zwiększają się
obroty wału korbowego silnika. Przy obrocie rączki "od
siebie" przepustnice opadają, ilość mieszanki
dostającej się do cylindrów zmniejsza się i
zmniejszają się obroty wału korbowego silnika.
Ruch przepustnic nowego niedotartego silnika jest ograniczony
poprzez podpory. Nie należy na siłę przełamywać
oporu podpory, ponieważ można oberwać linkę.
Pedał
9 hamulca tylnego koła i koła wózka bocznego
znajduje się po prawej stronie ramy.
Dźwignia 8
przedniego hamulca znajduje się po prawej stronie
kierownicy. Zaleca się używanie hamulca przedniego
równocześnie z hamulcem koła tylnego i koła
wózka bocznego.
Rączka 10 włączenia
biegu wstecznego ma dwa położenia: tylne - wyłączony
bieg wsteczny i przednie - włączony bieg
wsteczny.
Dźwignia 12 mechanizmu rozruchowego służy
do uruchomienia silnika i położona jest po lewej
stronie motocykla.

1.
Stacyjka;
2. Lampka kontrolna czujnika awaryjnego
ciśnienia oleju;
3. Prędkościomierz;
4. Kontrolna lampka migaczy;
5.
Amortyzator kierownicy;
6. Rączka przedniego
hamulca;
7. Kombinowany przełącznik
(SWIET i awaryjny wyłącznik zapłonu);
8.
Rączka sterowania przepustnicą;
9.
Pedał hamulca koła tylnego i koła wózka
bocznego;
10. Rączka włączania biegu
wstecznego;
11. Włącznik masy;
12. Dźwignia
mechanizmu rozruchowego;
13. Pedał przełączania
biegów;
14. Kombinowany przełącznik
(włączania świateł długich i krótkich,
kierunkowskazów, sygnału dźwiękowego);
15.
Rączka sterowania;
|

Pedał
13 przełączania biegów znajduje się z lewej
strony skrzyni biegów i ma dwie podpórki. Na jednej
przy zmianie biegów kładzie się przód
stopy kierowcy, na drugiej – piętę. Przy
naciśnięciu pedału czubkiem stopy zmienia się
biegi z wyższych na niższe i włącza się
bieg I z położenia neutralnego, przy naciśnięciu
piętą zmienia się biegi z niższych na wyższe.
Włączanie biegów pokazano na rys. 4. Po każdym
naciśnięciu pedał wraca do położenia
wyjściowego. W miarę odchylania pedału od
położenia wyjściowego następuje również
proces wysprzęglania.
Dźwignią 15 (rys. 2)
realizuje się sterowanie sprzęgłem. Przy
naciśnięciu na dźwignię sprzęgło
rozłącza się. Przy powrocie dźwigni do
położenia początkowego sprzęgło załącza
się. Sprzęgłem posługujemy się przy
ruszaniu z miejsca, przy hamowaniu i przy zmianie biegów.
Zamek
przeciwskrętnego urządzenia zamyka się
przekręceniem kluczyka zgodnie ze wskazówkami zegara
z jednoczesnym wciśnięciem wkładu, przekręciwszy
wcześniej kierownicę w prawo do oporu. Aby uniknąć
złamania zamka zwroty kierownicy i ruszanie motocykla ze
wstawionym kluczykiem w zamek są zabronione.

|
KRÓTKI
OPIS BUDOWY I DZIAŁANIA PODSTAWOWYCH ELEMENTÓW
MOTOCYKLA, ICH REGULACJA I OBSŁUGA TECHNICZNA
SILNIK
Silnik
(rys. 5, 6, 7) ze względu na szczegóły budowy i
techniczne osiągi zalicza się do silników
motocyklowych typu drogowego.
Poziome rozmieszczenie cylindrów
zabezpiecza dobre chłodzenie i wyrównanie pracy
mechanizmu korbowego. Każdy cylinder posiada oddzielny
gaźnik, co ułatwia uruchomienie silnika i zwiększa
jego moc.
|

Rys.
5 Silnik – przekrój poprzeczny
1.
Drążek;
2. Kołpak
uszczelniający;
3. Skrzynia korbowa;
4. Popychacz;
5. Rurka
wyprowadzenia odpowietrznika;
6.
Nakrętka;
7.
Przewód wysokiego napięcia; |
8. Podkładka cylindra;
9. Wał korbowy z drążkami;
10. Podstawka;
11. Podkładka
podstawki;
12. Otwór osuszający,
13.
Pierścienie zgarniające olej;
14. Pierścienie
kompresujące; |
15. Tłok;
16. Palec tłokowy;
17. Pierścień
zabezpieczający,
18. Sprężyna;
19.
Prowadnica popychacza;
20. Popychacz; |
|

|
Rys.6
Silnik - przekrój podłużny
1.
Napęd zębaty pompy olejowej
2.
Obudowa przedniego łożyska z pompą
olejową
3. Ekran filtra odśrodkowego
4.
Koło zębate napędu rozdzielacza
5.
Podkładka koła zębatego napędu
rozdzielacza
6.
Podkładka filtra odśrodkowego
7.
Pierścień ustalający
8.
Podkładka filtra odśrodkowego
9.
Obudowa filtra odśrodkowego
10. Pokrywa filtra
odśrodkowego
11. Pierścień ustalający
12.
Zamocowanie pokrywy przerywacza
z listwą
13. Przerywacz zapłonu
14. Nakrętka
zamocowania pokrywy
15. Odpowietrzenie
16. Pierścień
zabezpieczający pokrywy
17. Cewka zapłonowa
18.
Pokrywa przednia skrzyni korbowej
19. Łożysko
przednie wału rozdzielającego
20. Wał rozdzielający z kołem zębatym
21.
Alternator z kołem zębatym
22. Koło
zamachowe z palcami
sprzęgającymi |
23.
Łożysko tylne wału rozdzielającego
24.
Dławik wału korbowego
25. Dysk sprzęgłowy
dociskowy prowadzący
26.
Dysk sprzęgłowy napędzany
27. Podkładka
koła zamachowego zamykająca
28.
Wpust segmentowy koła zamachowego
29.
Śruba mocująca koło zamachowe
30. Łożysko
tylne wału korbowego
31. Dysk sprzęgłowy
prowadzący
32. Dysk sprzęgłowy prowadzący
oddzielający
33.
Podkładka pod dnem
34. Korek spustowy
35. Sprężyna
dociskowa sprzęgła
36. Miska olejowa
37. Rurka
doprowadzająca olej
38. Podkładka skrzyni
rozrządu
39. Łożysko przednie wału
korbowego
40. Pokrywa skrzyni rozrządu
41.
Zawleczka
42. Korek
43. Sprężyna
44. Kulka |
|

Rys.7
Silnik - przekrój poziomy
1.
Pokrywa głowicy cylindra;
2. Podkładka
pokrywy głowicy;
3. Głowica prawego
cylindra z zaworami;
4. Podkładka
głowicy cylindra;
5. Gaźnik
prawy;
6 Cylinder;
7. Korek
otworu wlewowego;
8. Korek gumowy;
9.
Osłona drążka;
10. Gaźnik lewy; |
11.
Podkładka gaźnika;
12.
13. Świeca
zapłonowa;
14. Podkładka alternatora;
15.
Czujnik awaryjnego ciśnienia oleju:
16. Tłok z
pierścieniem i sworzniem;
17. Pierścień
zabezpieczający sworzeń tłokowy;
18. Zawór
ssący,
19. Nakrętka mocująca rury
wydechowej;
20. Nasadka trzonu zaworu; |
21.
Dźwignia prawego zaworu;
22. Zawór wydechowy;
23. Śruba regulująca;
24.
Kontrnakrętka;
25. Talerz dolny,
26. Zewnętrzna
sprężyna zaworu;
27. Wewnętrzna sprężyna
zaworu;
28. Talerz górny,
29. Dźwignia
lewego zaworu;
30. Ślizgacz; |
|
MECHANIZM
KORBOWY
Mechanizm
korbowy składa się z wału korbowego z drążkami,
tłoków wraz z pierścieniami tłokowymi,
skrzyni korbowej i dwóch cylindrów z głowicami.
Wał
korbowy jest odlany z bardzo trwałego żeliwa. Posiada
dwa kolana, które umieszczone są w tej samej
płaszczyźnie pod kątem 180° i składa się
z przedniego i tylnego czopu, szczęki i dwóch szyjek
drążków korbowych.
Wał korbowy
zamocowany jest w obudowie silnika na dwóch łożyskach
30 (rys. 8) i 39. Na przednim końcu wału korbowego
zamocowane jest koło zębate 4 napędzające
mechanizm rozrządu i filtru odśrodkowego, a na
stożkowej części tylnego końca - koło
zamachowe 22.
Kierunek obrotów wału korbowego
(patrząc od przodu) - w prawo.
W normalnych warunkach
eksploatacji wał korbowy wraz z łożyskami
ślizgowymi korbowodów ma długi okres pracy.
Jednak przy remoncie kapitalnym silnika zalecana jest wymiana
panewek łożysk korbowodów. To chroni przed
przedwczesnym zużyciem się szyjek korbowodów
wału korbowego.
Korbowody wraz z panewkami. Korbowody -
stalowe, kute, o przekroju dwuteownika. W górna główkę
korbowodu wprasowana jest tuleja z brązu z dokładnie
wykonanym otworem dla prawidłowego osadzenia sworznia
tłokowego. Dolna główka drążka jest
niesymetryczna, rozbieralna, z cienkościennymi, wzajemnie
zamiennymi panewkami. Dla prawidłowego zamontowania
korbowodów na wale korbowym trzony drążków
zaopatrzone są w wypusty, które powinny być
naprowadzone na zewnątrz w stosunku do szczęki wału
korbowego (występ prawego korbowodu skierowany w stronę
koła zamachowego, lewego - w stronę filtru
odśrodkowego).
Pokrywy korbowodów nie są
wzajemnie wymienialne. Nakrętki sworzni korbowodów
należy dokręcić i zakontrować.
Tłok,
pierścienie tłokowe i sworznie. Tłok 15 (rys.5)
składa się z głowicy, korpusu i zgrubienia. Na
tłoku znajdują się cztery rowki, w których
umieszcza się pierścienie tłokowe.
Dwa górne
pierścienie 14 (kompresyjne) zapewniają konieczną
hermetyczność w cylindrze i zapobiegają
przedostawaniu się gazów z komory spalania do karteru
silnika. Dwa dolne pierścienie 13 (zgarniające olej)
służą do zgarniania nadmiaru oleju ze ścianek
cylindra.
W trzecim rowku tłoka znajduje się
pierścień zgarniający, który składa
się z czterech elementów: dwóch dysków
stalowych oraz rozprężacza osiowego i radialnego.
W
najniższym rowku znajduje się żeliwny pierścień
zgarniający.
|
Oś
otworu pod sworzeń tłoka przesunięta jest 1,5 mm
od średnicowej płaszczyzny tłoka, dzięki temu
tłok płynnie bez szarpnięć przesuwa się
w przedziałach luzu pomiędzy korpusem tłoka i
ściankami cylindra przy zmianie kierunku przemieszczania się
w górnym punkcie zwrotnym. Na denku tłoka wybita jest
strzałka, która pokazuje prawidłowe położenie
tłoka w cylindrze; przy montażu strzałka na obu
tłokach powinna być skierowana do przodu, tj. w
kierunku filtru odśrodkowego.
Pierścienie
kompresyjne tłoka wytworzone są ze specjalnego żeliwa
i posiadają proste łączenie. Przerwa na łączeniu
pierścienia po umieszczeniu w cylindrze powinna wynosić
0,25 -0,5 mm.
Przy montażu cylindrów na tłoki
pierścienie kompresyjne powinny być przekręcone
łączeniami w różne kierunki w celu
zmniejszenia przepuszczania spalin.
Tłok 16 (rys. 7)
połączony jest z korbowodem za pomocą luźnego
sworznia, którego przesuniecie osiowe ograniczone jest
dwoma pierścieniami sprężynującymi
zabezpieczającymi 17, wstawionymi w okrągłe
wytoczenia w zgrubieniach tłoka.
Karter. Odlany ze stopu
aluminiowego karter 3 (rys. 5) jest podstawowym elementem korpusu
silnika.
Na karterze zamocowane są cylindry z głowicami
i elementy pomocnicze. Oprócz tego karter jest zbiornikiem
oleju. We wnętrzu karteru kręcą się wał
korbowy i rozrządu, w przedniej części znajduje
się skrzynia kół zębatych rozrządu, a
na wierzchu znajduje się alternator. W dolnej części
karter zamknięty jest tłoczonym dnem 10. Pomiędzy
karterem i dnem zamontowana jest podkładka uszczelniająca
11.
W czasie pracy silnika cześć mieszanki i spalin
przedostaje się do karteru poprzez przerwy w pierścieniach
tłokowych. Oprócz tego przy ruchu tłoków
do dolnego punktu zwrotnego znajdujące się we wnętrzu
karteru gazy sprężają się i pod ciśnieniem
olej może wyciekać na zewnątrz w miejscach
połączenia karteru z pokrywami oraz poprzez tłumiki.
Aby temu zapobiec zastosowano wymuszona wentylację
karteru.
Dla połączenia wewnętrznej części
karteru z atmosferą przy ruchu tłoków w dół
i odizolowania jej od atmosfery przy ruchu tłoków do
góry zastosowano odpowietrznik 15 (rys.6), który
znajduje się w środkowym otworze pokrywy 40 skrzyni kół
zębatych rozrządu,
W wychodzących z karteru
poprzez odpowietrzenie gazach znajduje się para wodna i
dlatego przy eksploatacji w warunkach zimowych w rurce gumowej
łączącej odpowietrzenie z filtrem powietrznym może
utworzyć się lód, który zablokuje
wydostawanie się gazów z karteru.
|
To
może spowodować wycieki oleju poprzez uszczelki.
Dlatego zaleca się przy eksploatacji w warunkach zimowych
przy temperaturze 0°C i niższej zdejmować rurkę
gumową.
Cylindry. Silnik posiada dwa wzajemnie zamienne,
bimetaliczne cylindry 6 (rys. 7). Cylinder zbudowany jest z
aluminiowego płaszcza i żeliwnej tulei. Dolna cześć
cylindra wyposażona jest w kołnierz z otworami
przechodzącymi poprzez wszystkie żebra dla wprowadzenia
szpilek ankrowych, które mocują cylindry i głowice
cylindrów do karteru. Górna część
cylindra posiada okrągły wypust, który wchodzi w
zagłębienie głowicy cylindra. Pomiędzy
cylindrem i głowicą znajduje się podkładka
uszczelniająca 4.
Głowice cylindrów. Głowice
3 i 12 cylindrów wytworzone są ze stopu
aluminiowego
z żebrami na zewnętrznej powierzchni, które
zwiększają powierzchnię chłodzenia. Komora
spalania głowicy ma kształt półokrągły.
Na głowicy po przeciwnej stronie komory spalania znajdują
się cztery wsporniki, w otworach których mocuje się
dźwignie. W górnej części znajduje się
nagwintowany otwór dla zamocowania świecy zapłonowej.
OBSŁUGA
MECHANIZMU KORBOWODOWEGO
Przy
codziennej eksploatacji należy czyścić karter,
cylindry i głowice cylindrów z błota i pyłu,
zwracając uwagę na czystość żeber
(zabrudzenie błotem żeber pogarsza chłodzenie
silnika) oraz sprawdzać poziom oleju w karterze. Przy
stwierdzeniu braku szczelności w wyniku złego montażu
lub uszkodzenia papierowych lub gumowych podkładek oraz
uszczelek następuje zasysanie powietrza i podwyższa się
ciśnienie w karterze silnika, co powoduje wycieki oleju nie
tylko w miejscach demontażu i poprzez uszczelki, ale również
przedwczesne zanieczyszczenie oleju i przyśpieszone zużycie
elementów silnika.
Po 10 000 km przebiegu należy
koniecznie oczyścić komory spalania głowic
cylindrów, tłoki, pierścienie tłokowe i
zawory z nagaru. Przy obecności nagaru w silniku mogą
powstawać stuki detonacyjne, które skracają
żywotność silnika.
Jeśli zużycie
oleju w silniku przewyższa 0,25 1 /100 km przebiegu należy
obowiązkowo wymienić pierścienie tłokowe.
MECHANIZM
ROZRZĄDU
Mechanizm
rozrządu reguluje otwieranie i zamykanie zaworów
ssących i wydechowych we właściwym czasie, który
odpowiada określonemu kątowi obrotu wału
korbowego. Mechanizm składa się z wału rozrządu
3 (rys. 8), popychaczy 4 (rys. 5), drążków 1,
dźwigni 21 (rys. 7) i 29, śrub regulacyjnych 23,
kontrnakrętek 24, zaworu wydechowego 22 i ssącego 1
wraz z końcówkami 20, sprężyn 26, 27,
talerzyków oporowych 25, 28 i ślizgacza 30.
W
przedniej części wału rozrządu znajduje się
koło zębate napędu 2 (rys. 8) z którym
sprzężone jest koło zębate 4 mechanizmu
rozrządu i koło zębate 1 napędu alternatora.
Wał rozrządu zamocowany jest w karterze silnika na
dwóch łożyskach kulkowych 19 (rys. 6) i 23.
|
Prawidłowe
ustawienie mechanizmu rozrządu zabezpieczone jest poprzez
umieszczenie znaków na kołach zębatych 2 (rys.
8) i 4 wału rozrządu przy montażu.
W silniku
mogą być zamontowane popychacze odmiennej konstrukcji
(patrz poz. 17, 18, 19 i 20 rys. 5) których czołowa
powierzchnia robocza naspawana jest specjalnym stopem.
Przy
eksploatacji silnika dopuszcza się wykruszenie węglików
z naspawanej powierzchni roboczej do grubości 0,35 mm, które
nie mają specjalnego wpływu na poprawność
pracy pary: krzywka - popychacz.
REGULACJA
ZAWORÓW
Normalna
praca silnika w znacznym stopniu zależy od wielkości
przerwy cieplnej pomiędzy trzonem zaworu a powierzchnią
roboczą dźwigni.
Należy uświadomić
sobie, że silnik chłodzony jest powietrzem, ponieważ
nie posiada osłony płaszcza wodnego, a posiada
użebrowanie na cylindrach, karterze i głowicach
cylindrów, praca napędu mechanizmu zaworowego jest
dobrze słyszalna. Dlatego nie należy uważać
za niesprawność periodyczny stukot zaworów i
popychaczy przy właściwie ustawionych przerwach
pomiędzy trzonem zaworu a powierzchnią roboczą
dźwigni, a także niezbyt ostry, wysokotonowy szum
pochodzący od pracy napędu mechanizmu rozrządu.
Przy
sprawdzaniu i regulacji przerwy obowiązkowo należy
podstawić naczynie pod głowicę cylindra, zdjąć
pokrywę głowicy cylindra i zlać zgromadzony olej.
Ustawić tłok w górnym punkcie zwrotnym w cyklu
sprężania, przekręcając wał korbowy w
taki sposób, żeby znak B na kole zamachowych pokrył
się ze znakiem na karterze silnika; obserwować to
należy przez otwór kontrolny w karterze silnika przy
zdjętym korku gumowym (rys.9).
W tym położeniu
oba zawory, ssący i wydechowy, będą całkowicie
zamknięte a ich dźwignie powinny się swobodnie
kolebać na osiach. Teraz należy sprawdzić za
pomocą szczelinomierza o grubości 0,07 mm przerwę
pomiędzy oboma dźwigniami i zaworami.
Przy
nieprawidłowo ustawionym zaworze, należy poluzować
kontrnakretkę 24 (rys. 7) i obracając śrubę
regulacyjną 23 ustawić prawidłową przerwę.
Po regulacji dociągnąć kontrnakretkę.
Regulacje zaworów przeprowadzamy na zimnym silniku;
przerwa powinna wynosić 0,07 mm. Jeżeli przerwy nie ma
lub jest bardzo mała, to zawór nie będzie ściśle
przylegał do swojego gniazda w chwili zamknięcia; jeśli
przerwa jest za duża, to moment otwarcia zaworu będzie
opóźniony i pogorszy się napełnienie
cylindra mieszanką paliwa. Przy regulacji przerwy w drugim
cylindrze należy obowiązkowo przekręcić wał
korbowy o jeden obrót (360°), po czym należy
przeprowadzić kontrolę i regulację zaworów
w sposób wyżej opisany.
|

|
Rys.
8 Koła zębate silnika
1.
Zębatka alternatora;
2. Zębatka napędu
rozrządu;
3. Wał rozrządu;
4.
Zębatka napędzająca rozrządu;
5.
Zębatka napędu pompy olejowej;
L. Znaki |

SZLIFOWANIE
ZAWORÓW
Po
każdych 10.000 kilometrów należy koniecznie
sprawdzać stan zaworów i jeśli jest taka
potrzeba szlifować je w gniazdach.
Konieczność
szlifowania zaworów spowodowana jest brakiem
hermetyczności w wyniku wypracowania skosów,
pojawieniem się wżerów i uszkodzeniami
powierzchni na skosach gniazd i główkach
zaworów.
Niedokładność przylegania
główki zaworu i gniazda określa się
wlewając naftę do kanału wlotowego i wylotowego w
głowicy cylindra. Jeśli nafta przesączy się w
czasie krótszym niż 10 s, należy koniecznie
zawory przeszlifować.
Aby przeszlifować zawór
w gnieździe należy zdemontować zawór,
zamocować głowicę cylindra w imadle, nałożyć
na skos główki zaworu cienką warstwę pasty
szlifierskiej i włożyć zawór w tuleję
naprowadzającą głowicy cylindra. Nałożyć
na koniec trzonu zaworu urządzenie obrotowe lub wiertarkę
ręczną. Można zastosować również
kawałek węża gumowego (od przewodów
paliwowych) obracając go dłońmi. Przyciskając
zawór do gniazda, należy obracać go w obie
strony, tak żeby obrót zaworu w jedna stronę był
dwa razy większy niż w druga, tj. żeby zawór
ciągle obracał się w jednym kierunku. W momencie
zmian kierunku kręcenia należy koniecznie odłączyć
zawór od gniazda.
Docierać zawór do gniazda
należy bardzo ostrożnie, nie ścierając ze
skosów roboczych zbyt dużo metalu, ponieważ
zmniejsza to ilość możliwych do wykonania
remontów.
Przy końcu szlifowania należy
zmniejszyć ilość pasty szlifierskiej i w ostatnim
okresie docierać tylko na czystym oleju.
Zewnętrzną
oznaką zadowalającego dotarcia jest jednorodny, matowy
kolor roboczego skosu główki zaworu i gniazda.
Po
doszlifowaniu należy przemyć zawory, gniazda zaworów,
tuleje prowadzące, gardziel i komorę sprężania
głowicy cylindra do całkowitego usunięcia pasty
szlifierskiej. Następnie należy sprawdzić
hermetyczność dolegania zaworów, montując
je uprzednio i zalewając naftą kanał wdechowy i
wydechowy w głowicy cylindra. Nafta nie powinna wyciec w
czasie 10 s. Jeżeli nafta przecieknie w krótszym
czasie należy dodatkowo doszlifować zawory.
|
KONTROLA
I USTAWIENIE PUNKTU ZAPŁONU
Dla
zabezpieczenia kontroli i ustawienia punktu zapłonu na
zewnętrznej części koła zamachowego znajduje
się znak "P" (wczesny punkt zapłonu), który
przy obracaniu kołem zamachowym jest widoczny w otworze
kontrolnym w karterze silnika (rys.9).
Przed przystąpieniem
do kontroli i ustawienia punktu zapłonu należy
koniecznie wyregulować przerwę pomiędzy stykami
przerywacza. Następnie należy podłączyć
lampkę kontrolną jednym przewodem do zacisku niskiego
napięcia cewki zapłonu (do którego jest
zamocowany przewód idący do przerywacza), a drugim
przewodem do "masy". Takie oprzyrządowanie
kontrolne można przygotować samemu mając lampkę
A.12-1, oprawkę i dwa przewody zakończone najlepiej
"krokodylkami".
Należy wyjąć korek,
zakrywający otwór kontrolny w karterze silnika, i
obracając wał korbowy dźwignią rozruchową
należy doprowadzić do pokrycia punktu "P" na
kole zamachowym z punktem na karterze silnika.
Włączyć
zapłon i rozewrzeć ciężarki 14 (rys. 10)
aparatu opóźnienia zapłonu do oporu. Jeśli
w momencie maksymalnego odchylenia ciężarków
lampka kontrolna zaświeci się (nastąpiło
rozwarcie styków przerywacza), to punkt zapłonu jest
ustawiony prawidłowo.
Jeśli przy maksymalnym
odchyleniu ciężarków lampka kontrolna nie
zaświeci się, to zapłon jest opóźniony,
a jeśli zapala się przed momentem maksymalnego
wychylenia ciężarków - to zapłon jest
przyśpieszony.
Ażeby ustawić potrzebny punkt
zapłonu należy poluzować śrubę mocującą
przerywacz z podstawą, odchylić do oporu ciężarki
aparatu opóźnienia zapłonu i obracać korpus
3 przerywacza: zgodnie z ruchem wskazówek zegara, jeśli
zapłon jest opóźniony i przeciwnie do ruchu
wskazówek zegara, jeśli zapłon jest
przyspieszony - do momentu zaświecenia się lampki
kontrolnej. Zaznaczyć położenie korpusu
przerywacza i dokręcić przy pomocy śruby. Nie
rozłączając lampki kontrolnej jeszcze raz należy
sprawdzić prawidłowość ustawienia punktu
zapłonu. Jeśli zapłon ustawiony jest prawidłowo
należy rozłączyć lampkę kontrolną i
zamontować pokrywkę przerywacza.
Wielkość
kąta opóźnienia zapłonu podana jest w
rozdziale "Charakterystyka techniczna" (w punkcie "
Podstawowe dane dla regulacji i kontroli").
Jednocześnie
należy sprawdzić i jeśli potrzeba wyregulować
przerwę pomiędzy odgromnikami i zaciskami cewki
zapłonowej, która powinna wynosić 9 mm.
Sprężyn
automatu opóźnienia zapłonu nie należy ani
rozciągać ani podginać, ponieważ mają
specjalną charakterystykę. Przy demontażu i
ustawianiu automatu opóźnienia zapłonu IIM302A
należy zwracać uwagę na położenie
zabieraka 2 (Rys.11). Dla prawidłowego jego ustawienia
należy ustawić nacięcia zabieraka z osiami 3
ciężarków, tak aby otwory przez które
widać sprężyny 1 miały kształt
prostokątny (patrz Rys.11). Przerwę mierzy się
szczelinomierzem, będącym na wyposażeniu
motocykla.
|


|
Po
ustawieniu wymaganej przerwy należy dokręcić wkręt
1(rys.10).
Aby ułatwić wykonanie tej operacji zaleca
się odkręcić wkręt mocujący aparat
opóźnienia zapłonu i wyjąć zabierak
11(rys.10).
W takim przypadku krzywka razem z aparatem
opóźnienia zapłonu będzie swobodnie obracać
się na występie wału rozrządu. Obrotem
krzywki w jedną lub drugą stronę zapewnia się
swobodny dostęp do styków przerywacza, wkrętu
zabezpieczającego 1 i do mimośrodu 6 przy kontroli i
ustawieniu przerwy na przerywaczu.
UKŁAD
SMAROWANIA
Układ
smarowania silnika - złożony (cześć pod
ciśnieniem, a część pod rozpryskiwaczem) .
Schemat smarowania pokazano na rys. 12.
Olej wlewa się do
karteru poprzez otwór wlewowy, który zakrywa się
korkiem 2 z prętem pomiaru poziomu oleju. Stąd olej
jest zasysany poprzez filtr siatkowy 3 przez pompę
zębatkową, która jest zamontowana w obudowie
przedniego łożyska napędzanego przez koło
zębate sprzęglone z kołem zębatym na wale
rozrządu.
W pompie oleju znajdują się dwa koła
zębate, które są zamocowane w korpusie i
napędzają olej w głównym przewodzie
olejowym 7, Dla zapobieżenia podwyższeniu ciśnienia
oleju w układzie powyżej dopuszczalnego, w korpusie
pompy olejowej zamontowany jest zawór redukcyjny 5.
Przy
normalnej pracy systemu smarowania zbyt wysokie ciśnienie
oleju powoduje otwarcie zaworu redukcyjnego i nadmiar oleju
kierowany jest z powrotem do przewodu zasysającego pompy
olejowej. Zaworu redukcyjnego w czasie eksploatacji nie należy
regulować.
Z
przewodu głównego olej podawany jest do okrągłego
rowka w korpusie przedniego łożyska, skąd
przedostaje się kanałem do korpusu filtru odśrodkowego.
Olej oczyszczony w filtrze odśrodkowym kanałem
odprowadzającym E wału korbowego i kanałem
doprowadzającym B w szczęce wału korbowego dostaje
się do chwytnika I', znajdującego się w szyjkach
korbowodu, skąd poprzez otwór B przedostaje się
do panewki korbowodów.
Szybko obracające się
części mechanizmu korbowodowego powodują
intensywne rozbryzgiwanie się oleju i powstawanie w karterze
mgły olejowej, którą są smarowane
powierzchnie robocze cylindrów, sworznie tłokowe,
górne główki korbowodów, prowadnice
popychaczy, zasadnicze łożyska obrotowe, koła
zębate rozrządu, łożyska kulkowe i krzywki
wału rozrządu, popychacze i inne elementy
trące.
Rozpylony olej wpadając w rowki 0 popychaczy,
przedostaje się do osłon drążków,
osadza się na nich i ścieka do głowic cylindrów.
Tutaj ulega rozbiciu poprzez zawory i sprężyny i
smaruje zarówno zawory jak i dźwignie. Nadmiar oleju
ścieka rurką drenażową 6 z powrotem do
karteru silnika.
|

|
Jeżeli
w silniku zamontowane zostały popychacze w kształcie
grzybka 20 (rys. 5), rozpylony olej dostaje się do osłon
drążków poprzez otwory w karterze w okolicy
tulei prowadzących popychaczy.
Dla ścieku
spływającego oleju, odbitego uszczelką koła
zamachowego służy kanał odprowadzający A w
karterze silnika.
Dla ochrony przed wyciekami oleju z karteru
silnika do skrzyni biegów służy gumowa uszczelka
na piaście koła zamachowego, a od padania oleju na
przerywacz - gumowa uszczelka na wale rozrządu.
Odśrodkowy
filtr oleju stanowi dokładny filtr oczyszczenia oleju. Do
tego miejsca olej oczyszczany jest jedynie poprzez siatkę
filtrująca zbiornika oleju. Korpus aluminiowy 8 (rys. 13) i
pokrywa 6 filtra odśrodkowego zamontowane są na
przedniej szyjce wału korbowego, zamocowane klinem i śrubą
1 poprzez specjalną podkładkę 3 zamontowaną w
pokrywie filtra odśrodkowego. Dla zapobieżenia
samoodkręceniu się śruby 1 zamontowano podkładkę
zabezpieczającą 2. Pomiędzy korpusem i pokrywą
filtru odśrodkowego znajduje się ekran 9 z jednym
podłużnym otworem dla przepływu oleju z komory
korpusu do komory pokrywy i dalej kanałami do łożysk
korbowodów.
Prawidłowe położenie otworu
w ekranie odnośnie kanałów zabezpieczone jest
wąsem, który wchodzi do korpusu filtra
odśrodkowego.
Korpus i pokrywa filtra odśrodkowego
uszczelnione są specjalnym pierścieniem 7. Dla
zmniejszenia wycieku oleju pomiędzy podkładką i
podkładką czołową wału korbowego
znajduje się pierścień uszczelniający 4.
Po
każdych 10 000 km przebiegu należy przemyć system
smarowania silnika. Do tego celu wykręcamy korek otworu
spustowego, zlewamy zużyty olej, zakręcamy korek i
wlewamy do karteru 1,2 do 1,5 litra oleju dla przemycia,
uruchamiamy silnik na 2-3 min i ponownie zlewamy olej. Zdejmujemy
i przemywamy dno karteru. Po tym wlewamy do karteru nowy olej.
W
okresie zimowym olej należy podgrzać do temperatury
70-80°C.
Należy pamiętać, że nawet
krótkotrwałe zakłócenia w pracy systemu
smarowania mogą doprowadzić do uszkodzenia
silnika.
Objawami niedostatecznego smarowania są
nadmierne nagrzewanie się cylindrów i głowic,
obniżenie się mocy silnika i stuki w silniku.
Praca
systemu smarowania kontrolowana jest poprzez czujnik 8 (rys.12)
awaryjnego ciśnienia oleju typu membranowego, który
zaczyna działać przy obniżeniu się ciśnienia
w systemie do 0,13-0,18 MPa (1,3 - 1,8 KG/cm2).
Sygnalizatorem
obniżenia się ciśnienia jest lampka kontrolna
czujnika awaryjnego ciśnienia oleju, zamontowana na panelu
przyrządów. Po włączeniu napięcia
lampka kontrolna świeci się, a po uruchomieniu silnika
gaśnie. Świecenie się lampki kontrolnej przy
pracującym silniku wskazuje na uszkodzenie czujnika
ciśnienia lub na uszkodzenie silnika. W takich przypadkach
eksploatacja silnika do czasu wykrycia usterki jest zabroniona.
W
przypadku nagłego zaświecenia się lampki
kontrolnej czujnika ciśnienia przy średnich obrotach
silnikach, co jest możliwe przy przedostaniu się
cząstek metalowych pod kulkę 44 (rys.6) zaworu
redukcyjnego, należy oczyścić jego gniazdo. W tym
celu należy zlać olej z karteru silnika, zdjąć
dno, rozebrać zawór redukcyjny (wyjąć
zawleczkę 41, korek 42, sprężynę 43 i kulkę
44) i oczyścić gniazdo. |

|
Zaleca
się przeprowadzić oczyszczenie gniazda za pomocą
wiertła (D 10 mm, zaostrzonego pod kątem 90°,
obracając go ręcznie z lekkim dociskiem. Dopuszcza się
przeprowadzenie uszczelnienia gniazda zaworu za pomocą kulki
(D 10 mm, uderzając lekko (2-3 razy) młotkiem o masie
0,1 - 0,2 kg poprzez uchwyt (w zastępstwie oprawki można
użyć klucza w kształcie kwadratu, który
znajduje się w torbie narzędziowej). Następnie
należy 2-3 razy obrócić wał korbowy i
złożyć wszystkie elementy w odwrotnej
kolejności.
Przy nagrzanym silniku lub przy małych
obrotach biegu jałowego (częstotliwość
obrotów wału korbowego 800 obr/min) lampka kontrolna
może się zaświecić przy prawidłowo
działającym systemie smarowania. Zaleca się
okresowo wykręcić czujnik ciśnienia oleju i
sprawdzić ciśnienie oleju manometrem kontrolnym.
Ciśnienie oleju przy nagrzanym silniku na średnich
obrotach powinno być nie mniejsze niż 0,3 i nie większe
niż 0,8 MPa (odpowiednio 3 i 6 KG/cm').
W procesie pracy
silnika z powodu sił odśrodkowych od oleju oddzielają
się zanieczyszczenia i osadzają się na obudowie
filtra odśrodkowego. Dlatego filtr odśrodkowy należy
oczyszczać co 10 000 km przebiegu.
UKŁAD
ZASILANIA
W
skład systemu zasilania wchodzą: zbiornik paliwa,
trzypozycyjny kranik z filtrem i odstojnikiem, dwa gaźniki,
filtr powietrza, przewody paliwowe i powietrzne.
Kran
benzynowy z odstojnikiem. Kran jest wkręcony w tuleję
zbiornika paliwa. W dolnej części kranu znajduje się
odstojnik 5 (rys. 14) z filtrem siatkowym 6. Benzyna kierowana
jest do jednego z dwóch przewodów paliwowych 10 lub
11 znajdujących się na różnej wysokości.
W
obudowie kranu znajduje się suwak 3, który ma jeden
otwór osiowy i dwa promieniowe: jeden z nich, przewiercony
na wylot, pokrywa się z otworem wysokiego przewodu
benzynowego 11 (paliwo zasadnicze), a drugi - z niskim przewodem
benzynowym 10 (paliwo rezerwowe).
Z drugiej strony korpusu
znajdują się dwa króćce dla zamocowania
gumowych wężyków paliwowych, które są
poprowadzone do gaźników.
Rączka kranu ma
trzy położenia: 0- otwarty; 3 - zamknięty; P -
otwarty na paliwo rezerwowe.
W rezerwie znajduje się
około 2 litry paliwa.
Ażeby przemyć odstojnik i
filtr siatkowy kranu benzynowego, należy odkręcić
dolną nakrętkę, odłączyć odstojnik
od kranu i cylinder z filtrem, oczyścić je z brudu i
przemyć w czystej benzynie .
Przy montażu odstojnika
należy zwracać uwagę na stan i prawidłowe
ułożenie podkładki uszczelniającej.
|

Silnik
zasilany jest przez dwa gaźniki K63T wzajemnie zamienne,
zamontowanye na głowicach cylindrów. Gaźniki
pokazano na rys. 15.
Gaźnik K63T. Oba gaźniki są
wzajemnie zamienne i identyczne pod względem
budowy.
Regulowanie gaźników. Przed rozpoczęciem
regulacji koniecznie należy sprawdzić wielkość
przerwy: pomiędzy elektrodami świecy zapłonowej,
pomiędzy stykami przerywacza, trzonami zaworów i
dźwigniami. |

Rys.
15 Gaźnik K63T
1.
Króciec z przeciwnakrętką;
2.
Ogranicznik otwarcia przepustnicy,
3.
Przeciwnakrętka;
4. Ramię iglicy
dozującej;
5. Przepustnica;
6.
Korpus;
7. Komora dyszowa;
8.
Kanał powietrzny rozpylacza;
9. Oś
dźwigni pływaka;
10. Korpus rozpylacza;
11.
Rozpylacz;
12. Pokrywa komory pływaka;
13. Główna
dysza paliwowa;
14. Dysza paliwowa wolnych obrotów;
15.
Podkładka zabezpieczająca;
16. Podpora zaworu
paliwowego;
17. Dysza paliwowa urządzenia
rozruchowego;
18.
Obciążenie pływaka;
19. Iglica nurnika;
20.
Nurnik urządzenia rozruchowego;
21. Sprężyna; |
22.
Trzpień;
23. Kołpak;
24. Śruba do
regulacji jakości mieszanki wolnych
obrotów;
25. Króciec dopływu paliwa;
26.
Kanał powietrzny dyszy wolnych obrotów;
27.
Kanał powietrzny,
28. Zawór paliwowy;
29.
Pływak;
30. Kanał doprowadzający mieszanki
paliwowej z urządzenia
rozruchowego;
31. Otwór
drenażowy;
32. Otwór;
33. Otwór
przejściowy;
34. Iglica dozująca;
35.
Sprężyna przepustnicy,
36. Kanał
połączeniowy komory pływaka
z otoczeniem zewnętrznym;
37. Pokrywa obudowy;
38.
Śruba do regulacji wolnych obrotów wału
korbowego; |
|
Regulacja
obrotów wału na biegu jałowym. Przed regulacją
należy sprawdzić czy istnieje przerwa pomiędzy
nasadką osłony linki i króćcem, która
powinna wynosić 2 - 3 mm. W przypadku braku przerwy lub
jeżeli przerwa jest większa, to należy poluzować
kontrnakrętkę króćca 1 (rys. 15) i
obracając go w prawo lub w lewo, wyregulować przerwę
i zabezpieczyć króciec kontrnakrętką.
Przerwa na obu gaźnikach powinna być
jednakowa.
Regulację gaźnika na wolne obroty biegu
jałowego przeprowadza się na nagrzanym i pracującym
silniku. Jeśli nagrzany silnik gaśnie przy małych
obrotach biegu jałowego, to należy wyregulować
układ biegu jałowego.
Gaźniki reguluje się
oddzielnie w następującym porządku: śrubą
38 należy ustalić najmniejsze stabilne obroty wału
korbowego, następnie stopniowo wykręcać śrubę
24 aż do pojawienia się nieregularności w pracy
silnika; następnie powoli wkręcić ją do
uzyskania stabilnej pracy silnika; dalej śrubą 38
ponownie zmniejszyć zamknięcie przepustnicy aż do
uzyskania minimalnych stabilnych obrotów wału
korbowego, regulując także skład mieszanki śrubą
24. Opisane operacje należy przeprowadzać tak długo,
aż uzyska się najmniejsze stabilne obroty wału
korbowego.
Analogicznie wyregulować gaźnik drugiego
cylindra.
Po regulacji biegu jałowego obroty wału
korbowego przy pracy lewego i prawego gaźnika powinny być
jednakowe. Sprawdza się to kolejno poprzez wyłączenie
prawego i lewego cylindra, zdejmując nasadkę ze
świecy.
Na słuch określamy obroty silnika na
każdym cylindrze. Jeżeli obroty są różne
na lewym i prawym cylindrze, to należy wyregulować
gaźniki, poprzez wkręcenie lub wykręcenie śruby
38 przepustnicy, aż do uzyskania jednakowych
obrotów.
Stabilność obrotów biegu
jałowego należy sprawdzić poprzez gwałtowne
otwarcie i zamkniecie przepustnic (obrotem rączki
"gazu").
Jeżeli silnik pracuje stabilnie na
małych obrotach, lecz gaśnie przy gwałtownym
otwarciu przepustnicy należy przykręcić śrubę
24 o 1/4 do 1/2 obrotu (mieszanka wzbogaci się); jeżeli
silnik gaśnie przy gwałtownym zamknięciu
przepustnicy należy odkręcić śrubę 24
01/4 do 1/2 obrotu (mieszanka zuboży się).
Regulacja
jakości mieszanki przy normalnych warunkach eksploatacji
silnika. Praca silnika w normalnych warunkach (średnie
obciążenia) zależy od położenia iglicy w
przepustnicy, dlatego regulacja gaźników sprowadza
się do wyboru prawidłowego położenia
iglicy.
Konieczność tej regulacji spowodowana jest
zmianami warunków klimatycznych, np. przy przejściu z
letniego okresu eksploatacji na zimowy; w okresie docierania lub
dla podwyższenia mocy silnika kosztem jego ekonomiczności.
Regulację przeprowadza się wkręcaniem lub
wykręcaniem iglicy dozującej 34 w stosunku do listwy 4,
uprzednio poluzowując kontrnakrętkę 3. Przy
wkręcaniu iglicy w listwę, iglica podnosi się w
stosunku do rozpylacza - mieszanka wzbogaca się, przy |
wykręcaniu
– ubożeje.
Przy obrocie iglicy o jeden obrót
przemieszczenie jej wynosi 0,5 mm.
Po zakończeniu
regulacji kontrnakrętkę 3 należy
dokręcić.
Prawidłowość wyregulowania
gaźników dla średnich obciążeń
silnika sprawdza się poprzez gwałtowne zwiększenie
obrotów silnika. Jeżeli przy tym będzie słychać
stuki w gaźniku to mieszankę należy wzbogacić
podwyższeniem iglicy.
Ustawienie poziomu paliwa w komorze
pływaka. W przypadku zbyt wysokiego poziomu paliwa w komorze
pływaka, zbyt dużego zużycia paliwa, wymiany
przewodu paliwowego lub pływaka należy ustawić
normalny poziom paliwa w komorze pływaka gaźnika.
Dla
ustawienia poziomu paliwa w komorze pływaka należy
zdjąć pokrywę komory pływaka, ustawić
gaźnik pionowo komorą pływaka do góry. W
takim położeniu pasek na bocznej powierzchni pływaka
(w części środkowej ) powinien być równoległy
do powierzchni korpusu gaźnika przylegającej do pokrywy
komory pływakowej, a odstęp pomiędzy paskiem
pływaka i tą powierzchnią powinien wynosić
dokładnie 13±1 mm. W razie konieczności
położenie pływaka można zmienić
podginając podpórkę 16 zaworu paliwa.
Obsługa
gaźników. Zaleca się po każdych 500 km
przebiegu przemywać i przedmuchiwać gaźniki.
Przemycie elementów gaźnika należy dokonać
czystą benzyną. Po przemyciu gaźniki i ich
elementy przedmuchać powietrzem i osuszyć. Przecierania
elementów szmatami i innymi materiałami zabrania się.
Do oczyszczenia dysz nie należy stosować drutów
stalowych, które mogą zmienić średnice
otworów dysz, a następnie wpłynąć na
pracę gaźników.
Przy długotrwałej
eksploatacji motocykla w warunkach gorącego klimatu
(temperatura 35 - 40°C i wyższa), a także na
wysokości 2000 m i wyżej ponad poziomem morza, zaleca
się opuścić iglicę dozującą, a przy
eksploatacji silnika warunkach zimnego klimatu (temperatura
powietrza -15°C i niższa) zaleca się podnieść
iglicę dozującą.
Przecieki paliwa przez otwór
drenażowy 31 gaźnika świadczą o
niehermetyczności zaworu paliwowego komory pływaka. W
takim przypadku należy przemyć zawór paliwowy
lub wymienić elastyczną podkładkę, usunąć
rysy na siedlisku zaworu.
Filtr powietrza (rys. 16) -
zamontowany na karterze skrzyni biegów i połączony
z gaźnikami gumowymi przyłączami.
Element
filtrujący jest suchy. Składa się z filtra
2-"harmonijki" papierowej, zamkniętej pomiędzy
okrągłymi metalowymi obejmami 3 i przedfiltra 1 z
tkanego syntetycznego materiału. Przedfiltr spełnia
rolę wstępnego oczyszczenia powietrza: duże
cząsteczki pyłu, krople wody, wpadające razem z
powietrzem, zostają zatrzymane. Oczyszczone powietrze z
wewnętrznej powierzchni filtra rurkami (przewodami
powietrznymi) przechodzi do gaźników. |

OBSŁUGA
SYSTEMU ZASILANIA
Przy
oględzinach kontrolnych należy koniecznie sprawdzić
zaopatrzenie zbiornika w paliwo, dopływ paliwa do gaźników,
pewność połączeń przewodów
benzynowych, działanie napędu sterowania przepustnicami
gaźników.
Zaleca się przeprowadzenie obsługi
technicznej Nr 2: usunąć z odstojników kranu
benzynowego zgromadzony bród; przemyć i przeczyścić
filtry paliwa; przedmuchać dysze i kanały gaźników;
przemyć komory pływaków.
Przy niedostatecznej
ilości paliwa szybko spada moc silnika, pojawiają się
wybuchy w gaźniku, prędkość obrotowa silnika
nie odpowiada zwykłemu położeniu rączki gazu.
W takim przypadku przede wszystkim należy sprawdzić czy
nie zatkany jest otwór w korku zbiornika paliwa łączący
zbiornik z atmosferą. Potem, zamykając kran benzynowy
odkręcić odstojnik, przeczyścić i przemyć
go i znajdujący się w nim filtr. Po jeździe zaleca
się zlać benzynę ze zbiornika i przedmuchać
kran w dwóch położeniach O i P (rys.14)
sprężonym powietrzem.
Koniecznym jest okresowo
sprawdzać hermetyczność połączeń i
stan wejściowych przewodów powietrza, ponieważ
zasysanie nieoczyszczonego powietrza powoduje przedwczesne
zużycie elementów silnika.
Przy eksploatacji
motocykla na drogach asfaltowych po 5000 km przebiegu zaleca się
przedmuchać suchym powietrzem przedfiltr uprzednio zdjęty
z elementu filtrującego. W tym celu należy odkręcić
specjalną nakrętkę 4(rys.16), zdjąć |
pokrywkę
5 i wyjąć element filtrujący 6. Dla przedmuchania
można wykorzystać pompkę do kół.
Oczyszczenie
elementu filtrującego filtra powietrza przeprowadza się
analogicznie. Strugę powietrza należy skierować na
wewnętrzna powierzchnie elementu.
Po 10 000 km przebiegu
należy wymienić element filtrujący na nowy.
Przy
jeździe po bardzo zapylonych drogach, czyszczenie i wymiana
elementu filtrującego powinna odbywać się
częściej. W wyjątkowych przypadkach dopuszcza się
użycie elementu filtrującego powtórnie po jego
przemyciu.
Przemywanie należy przeprowadzić w
roztworze środków piorących OP-7, OP-10 lub
proszków piorących przeznaczonych dla gospodarstwa
domowego i ciepłej wodzie (40-50°C). Stężenie
środków piorących powinno wynosić 20-25 g
na litr wody.
Element filtrujący należy umieścić
na 15-30 min w opisanym roztworze i przemyć kolejno poprzez
zanurzanie i obracanie. Potem należy element filtrujący
wypłukać w czystej wodzie i dokładnie
wysuszyć.
Przy obfitym wpadaniu wilgoci na element
filtrujący filtra powietrza możliwe są zakłócenia
w pracy silnika. Dlatego przy jeździe motocyklem w warunkach
ulewnego deszczu koniecznym jest zdjęcie z elementu
filtrującego przedfiltra. Po jeździe element filtrujący
i przedfiltr należy wysuszyć i zamontować na nowo. |
NAPĘD
Napęd
motocykla składa się z połączonych pomiędzy
sobą układów przeznaczonych dla przekazania
momentu obrotowego od wału korbowego silnika na tylne koło,
a także dla zmiany siły ciągu na zewnętrznym
kole.
Do napędu należą: sprzęgło,
skrzynia biegów, przekładnia kardana, przekładnia
główna z mechanizmem różnicowym
(dyferencjał) i reduktorem.
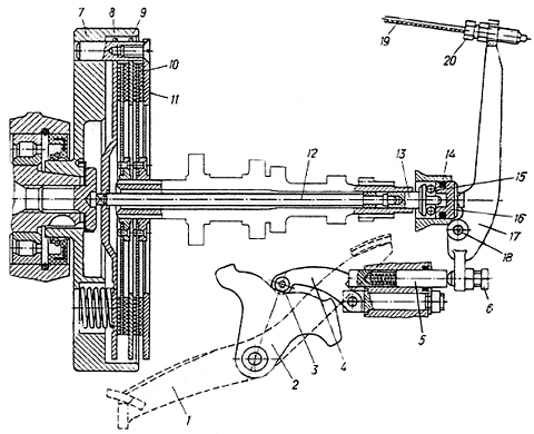
SPRZĘGŁO
Dwutarczowe
suche sprzęgło przeznaczone jest dla przekazania
momentu obrotowego od silnika do skrzyni biegów,
odłączenia silnika od skrzyni biegów w czasie
przełączania biegów i płynnego włączenia
podczas ruszania motocykla z miejsca
Sprzęgło składa
się z części napędzanych i napędzających
i mechanizmu włączenia sprzęgła. Do
napędzających części sprzęgła
zaliczają się koło zamachowe 7 (rys.22) i tarcze
(naciskowa 8, pośrednicząca 9 i oporowa 11) , które
są zamontowane na palcach koła zamachowego.
W środku
tarczy naciskowej znajduje się kwadratowy otwór , do
którego wchodzi trzpień 12 rozłączenia
sprzęgła.
Tarcza oporowa zamocowana jest do czoła
palców śrubami, które są zakontrowane za
pomocą zapunktowania tarczy oporowej w przecięciu
główki śruby.
|
Do
napędzanych części sprzęgła zaliczają
się dwie tarcze napędzane 10, które mają z
dwóch stron zamocowane okładziny z materiału
ciernego; tarcze sprzęgają się z rowkową
częścią wstępnego wału skrzyni
przekładniowej.
Prawidłowe wykorzystanie sprzęgła
znacznie zwiększa czas jego pracy.
Nie należy
jeździć na ślizgającym się sprzęgle.
Przy ruszaniu z miejsca i zmianie biegów należy
płynnie włączać sprzęgło. Szybie
włączenie sprzęgła przy dużych obrotach
wału korbowego powoduje nie tylko szybkie zużycie się
okładzin ciernych tarcz, ale powoduje też przeciążenie
elementów przekładni i zwiększa zużycie
opon.
Sprzęgło ma dwa urządzenia sterowania:
rączkę sterowania sprzęgłem, znajdującą
się na kierownicy (ręczny napęd) i od pedału
przełączania biegów (nożny napęd).
Przy
posługiwaniu się rączką należy tak
włączyć sprzęgło, aby włączyć
/ przełączyć bieg i płynnie popuszczać
rączkę sterowania sprzęgła po włączeniu
/ przełączeniu biegu.
Przy posługiwaniu się
pedałem nożnym rozłączenie sprzęgła
następuje automatycznie w procesie włączania /
przełączania biegów, bez oddziaływania na
rączkę sterowania sprzęgłem.
W tym
przypadku po włączeniu biegu należy pedał
przytrzymać piętą lub przodem stopy, płynnie
powracając do położenia wyjściowego,
jednocześnie zwiększając obroty wału
korbowego silnika.
REGULACJA
MECHANIZMU ROZŁĄCZANIA SPRZĘGŁA
Przeprowadza
się w razie konieczności sworzniem regulacyjnym 8
(patrz rys. 22) i śrubą regulacyjną 20 linki
sprzęgła 19. Na początku reguluje się pedał
nożny. Przy prawidłowym wyregulowaniu powinna być
niewielka przerwa pomiędzy końcem sworznia
regulacyjnego i trzpieniem pośredniczącym 5. 0 tym, czy
jest przerwa można się zorientować przy naciskaniu
pedału 1 przełączania biegów.
Swobodny
ruch przedniej części pedału zmiany biegów
powinien wynosić 10 - 15 mm. Wielkość ruchu suwaka
16 przy ręcznym wyłączaniu sprzęgła nie
powinna przekraczać wielkości ruchu suwaka przy
wyłączaniu sprzęgła pedałem przełączania
biegów. Sprawdzenie regulacji ręcznego uchwytu
przeprowadza się następująco: naciskiem nogi na
pedał przełączania biegów (do oporu)
przeprowadza się pełne włączenie dowolnego
biegu. Dźwignie sterowania sprzęgłem odciąga
się w kierunku rączki na kierownicy. Odczucie naciągu
linki powinno się pojawić tuż przy końcu
ruchu dźwigni (na odległości od rączki 1 - 5
mm). Jeżeli ta odległość będzie większa
lub mniejsza, to wkręcając lub wykręcając
śrubę regulacyjną, należy uzyskać
potrzebną wielkość.
Po zakończeniu
regulacji sterowania sprzęgłem sworzeń i śrubę
regulacyjną należy zabezpieczyć kontrnakrętkami.
|
SKRZYNIA
BIEGÓW
Skrzynia
biegów - dwuwałowa, czterostopniowa, z
przekładnią biegu wstecznego i mechanizmem
automatycznego wyłączania sprzęgła przy
zmianie biegów. Budowę skrzyni biegów pokazano
na rysunkach 17 – 22.
Wały. Wał pierwotny 9
(rys.17) zamontowany jest na dwóch łożyskach
kulkowych. Wał zbudowany jest wspólnie z wieńcami
kół zębatych biegu wstecznego, I i II biegu.
Koła zębate III i IV biegu są nasadzane.
Od
obracania się na wale koło zębate IV biegu
zabezpieczone jest wpustem segmentowym. Koło zębate III
biegu złączone jest z kołem zębatym IV biegu
za pomocą czołowych występów.
Wtórny
wał 10 także zamontowany jest na dwóch łożyskach
kulkowych. Posiada on wieniec zębaty sprzęgającego
koła zębatego 20 wstecznego biegu. Na wał
uprasowane są dwa złącza iglicowe 11,
zabezpieczone przed obracaniem się klinami. Koła zębate
1, II i III biegu swobodnie obracają się na
metaloceramicznych tulejach, a koło zębate IV biegu -
na tulei z brązu. Koła zębate połączone
są z wałem za pomocą ruchomego złącza 13
włączania biegów. Nie ma specjalnego
doprowadzenia smarowania do trących się
powierzchni.
Mechanizm przełączania. Do niego
zalicza się wał rozruchowy 33 i pośredniczący
5 z kołami zębatymi. Na wale pośredniczącym
luźno obracają się dwa koła zębate z
dwunastoma zapadkowymi zębami na przedniej powierzchni. Wał
ma wprasowany przedni koniec do karteru.
Na wale rozruchowym
wprasowany jest na rowku sektor zębaty 30. Sektor za pomocą
sprężyny skrętnej dociśnięty jest do
buforu gumowego 5 (rys.19).
Sprężyna nakręca
się przeciwnie do ruchu wskazówek zegara o pół
obrotu tulei 11 (rys.17), zamocowanej w przedniej ścianie
karteru.
Tuleja uszczelniona jest pierścieniem gumowym 2
a wał - dwuczęściowym szkieletowym pierścieniem
uszczelniającym. Dźwignia rozruchowa zamocowana jest do
wału za pomocą śruby klinowej. Przy naciskaniu
nogą na dźwignię rozruchową sektor sprzęga
się z małym kołem zębatym wału
pośredniczącego, który za pomocą grzechotki
czołowej łączy się z dużym kołem
zębatym II biegu wału pierwotnego skrzyni biegów.
Po
uruchomieniu silnika należy zdjąć nogę z
dźwigni rozruchowej, która pod działaniem
sprężyny powrotnej wraz z sektorem powraca do położenia
wyjściowego. Przy tym uderzenie sektora przejmowane jest
przez gumowy zderzak ze stalową nakładką. |

Rys.
17 Rysunek wałów
1.
Tuleja wału rozruchowego;
2. Pierścień
gumowy uszczelniający;
3. Sprężyna
wału rozruchowego;
4. Oparcie sprężyny;
5. Wał pośredni;
6.
Koło zębate III biegu wału pierwotnego;
7. Koło zębate IV biegu wału
pierwotnego;
8.
Uszczelka;
9. Wał pierwotny;
10. Wał
wtórny;
11. Złącze iglicy;
12. Koło
zębate IV biegu wału wtórnego;
13.
Złącze włączania biegów;
14.
Widełki włączania III i IV biegu;
15. Koło
zębate III biegu wału wtórnego;
16. Koło zębate II biegu wału wtórnego;
17.
Widełki włączania I i II biegu;
18. Koło
zębate I biegu wału wtórnego; |
19.
Widełki włączania biegu wstecznego;
20. Koło
zębate ślizgowe biegu wstecznego
wału wtórnego;
21. Oś koła zębatego
pasożytniczego;
22. Koło zębate biegu
wstecznego pasożytnicze;
23. Koło zębate napędu
prędkościomierza;
24. Koło zębate napędu prędkościomierza
napędzane;
25. Dławik;
26. Tarcza sprężysta
złącza;
27. Nakrętka z nacięciem
mocowania tarczy
sprężystej złącza;
28. Koło zębate
duże mechanizmu
rozruchowego;
29.
Koło zębate małe mechanizmu rozruchowego
z czołową grzechotką;
30. Zębaty sektor
mechanizmu rozruchowego;
31. Sprężyna;
32. Dławik;
33. Wał
mechanizmu rozruchowego; |
|

Rys.
18 Przekrój poprzeczny skrzyni biegów
1.
Wał mechanizmu rozruchowego;
2. Wał
pośredniczący;
3. Oparcie koła zębatego
pasożytniczego;
4. Miejsce
zamontowania koła zębatego pasożytniczego;
5. Wał pierwotny;
6. Wał wtórny; |
7.
Widełki przełączania biegów;
8.
Uszczelka;
9. Wał przełączania;
10.
Krzywka - wykorbienie;
11.
12. Zapadka mechanizmu
przełączania;
13. Sztyft tarczy przełączania; |
|

Rys.
19 Mechanizm rozruchowy
1.
Wał pośredniczący;
2. Dźwignia
mechanizmu rozruchowego;
3. Śruba klinowa;
4. Wał
mechanizmu rozruchowego; |
5.
Bufor gumowy sektora mechanizmu rozruchowego;
6.
Nakładka bufora;
7. Sektor zębaty;
8. Wał
pierwotny; |

Rys.
20 Mechanizm zmiany biegów (położenie neutralne
– luz)
1.
Wałek zapadki;
2. Zapadka mechanizmu przełączania;
3.
Tarcza przełączania z ukształtowanymi
wycięciami (krzywka wpustowa);
4.
Sztyft tarczy przełączania; |
5.
Styk czujnika położenia neutralnego;
6. Wałek
widełek;
7. Ustalacz dźwigniowy;
8. Sprężyna
czujnika położenia neutralnego; |
|

Rys.
21 Mechanizm włączania biegu wstecznego
1.
Koło zębate biegu wstecznego pasożytnicze;
2.
Koło zębate biegu wstecznego na wale
pierwotnym;
3. Widełki włączania biegu
wstecznego;
4. Koło zębate ślizgowe biegu
wstecznego na wale wtórnym;
5.
Rączka włączania biegu wstecznego; |
6.
Wyciskacz sferyczny;
7. Pierścień
uszczelniający gumowy;
8. Dźwignia
widełek włączania biegu wstecznego;
9.
Uszczelniacz;
10. Pokrywa;
11. Bieg wyłączony
(tylne położenie); |
|
Mechanizm
przełączania biegów. Cztery biegi dla jazdy
do przodu włączane są poprzez sprzęgła
rowkowe 13 na wale wtórnym, wprowadzanymi w ruch wzdłuż
wału widełkami przełączania biegów.
Widełki specjalnymi wypustami wchodzą do
ukształtowanych wycięć dysków przełączenia
3 (rys. 20). Przy powrocie dysku widełki przemieszczają
się wzdłuż wału 6, zamocowanego w karterze.
Na dysku przełączania zamontowane są trzy sztyfty
4 i sprężyna 8 czujnika położenia
neutralnego.
W położeniu neutralnym sprężyna
czujnika poprzez styk izolowany zamyka obwód elektryczny
lampki sygnalizacyjnej znajdującej się na panelu
przyrządów. Przy nacisku nogą na jeden z końców
pedału nożnego zmiany biegów wał
przełączający 9 (rys.18) połączony z
korbą krzywkową obraca się o określony kąt.
W korbie zamocowany jest sztyft, który wchodzi w wycięcie
zapadki 2 (rys. 20), ślizgającej się po wałku
1.
Zapadka działając na jeden ze sztyftów
dysku przełączającego, przekręca go. Dysk
ustala się za pomocą ustalacza dźwigniowego.
Wsteczny bieg włącza się rączką 5 (rys.
21), znajdującą się z prawej strony skrzyni
biegów. Rączka w wyniku własnego oporu ustawia
się w określonym położeniu na pochyłościach
karteru i pokrywy wyciskacza sferycznego 6. Przy ruchu rączki
dźwigni do przodu widełki włączenia biegu
wstecznego i koło zębate ślizgowe wału
wtórnego przemieszczają się do przodu.
Przy
tym pokazane koło zębate zesprzęgla się z
kołem zębatym pasożytniczym, zamontowanym na
pokrywie skrzyni biegów. Koło zębate
pasożytnicze znajduje się w ciągłym
zesprzęgleniu z kołem zębatym wstecznego biegu
wału pierwotnego.
Wsteczny bieg można włączać
tylko gdy motocykl stoi i tylko przy neutralnym położeniu
mechanizmu przełączania biegów ( pomiędzy I
i II biegiem). Jeżeli jest włączony jakikolwiek
bieg to biegu wstecznego nie da się włączyć.
To zabezpiecza specjalny wypust na widełkach włączenia
biegu wstecznego, który przy włączeniu
wstecznego biegu wchodzi w wycięcie dysku
przełączającego.
Rączkę włączenia
biegu wstecznego na wałku drążka mocuje się
na wyżłobkowanym stożku i ustawia się w
żądanym położeniu oraz zakręca
nakrętką.
Mechanizm wyłączenia sprzęgła
przy przełączaniu biegów. Przy przełączaniu
biegów korba krzywkowa 2 (rys. 22), przekręcając
się do przodu lub do tyłu ze swojego środkowego
położenia, podnosi dłuższe ramię z rolką
wewnętrznej dźwigni 4, znajdującej się w
obudowie skrzyni biegów.
Krótkie ramię tej
dźwigni oddziałowuje na składany drążek
pośredniczący 5, który zewnętrznym końcem
naciska na śrubę regulacyjną 6 zewnętrznej
dźwigni 17 wyłączenia sprzęgła.
Zewnętrzna
dźwignia, kiwając się na osi poprzez suwak 18,
łożysko 15 i nasadkę 13, oddziałowuje na
drążek 12 wyłączenia sprzęgła. |

|
Rys.
22 Sprzęgło i mechanizm wyłączania sprzęgła
przy przełączaniu biegów
1.
Pedał nożny przełączania;
2.
Krzywka - wykorbiona;
3. Wałek;
4.
Dźwignia wewnętrzna;
5. Drążek
pośredniczący;
6. Śruba
regulacyjna;
7. Koło zamachowe silnika;
8. Dysk naciskowy;
9. Dysk
pośredniczący,
10. Dysk napędzany;
11.
Dysk oporowy; |
12.
Drążek wyłączenia sprzęgła;
13.
Zakończenie drążka;
14. Pierścień
uszczelniający gumowy;
15. Łożysko oporowe
kulkowe;
16. Suwak;
17. Dźwignia wyłączania
sprzęgła zewnętrzna;
18.
Oś;
19. Linka ręcznego napędu złącza
sprzęgła;
20.
Śruba regulacyjna linki sprzęgła; |
|

Rys.
23 Przekładnia i mechanizm przełączania przekładni
różnicowej
1.
Pokrywa dyferencjału;
2. Śruba klinowa;
3.
Obudowa dyferencjału;
4. Pierścień
zabezpieczający,
5. Nakrętka;
6. Obudowa
przekładni głównej; |
7.
Koło zębate napędowe wraz z łożyskami;
8. Piasta lewa;
9. Koło zębate
stożkowe napędzane;
10.
Satelita; |
11.
Oś satelity,
12. Tuleja rozporowa;
13. Koło
zębate pasożytnicze;
14. Piasta prawa;
15.
Czasza dyferencjału;
16. Łożysko kulkowe; |
17.
Łożysko igłowe;
18. Koło zębate
wychodzące;
19. Koło zębate małe;
20.
Pierścień zabezpieczający,
21. Złącze
sprężyste;
22. Wał kardana;
23. Kołpak
dyferencjału; |
|
WSKAZÓWKI
DOTYCZĄCE EKSPLOATACJI
Obsługa
skrzyni biegów polega na wymianie oleju we właściwych
okresach i regulacji w razie konieczności mechanizmu
wyłączenia sprzęgła.
Wymianę oleju
należy koniecznie dokonywać w przewidzianych terminach.
Poziom oleju w skrzyni należy kontrolować zgłębnikiem,
jak opisano w podrozdziale "Przygotowania do wyjazdu".
Sonda
posiada głowicę polietylenową w kolorze czerwonym,
która służy jako odpowietrznik. W razie
konieczności czyszczenia odpowietrznika głowica może
być zdjęta.
Wymianę oleju w skrzyni biegów
zaleca się wykonać od razu po powrocie z jazdy.
Przed
zlaniem zużytego oleju i wlaniem nowego oleju należy
dokładnie oczyścić z pyłu i błota otwór
wlewowy i spustowy wraz z korkami. Następnie wykręcić
korki z otworu wlewowego i spustowego, zlać zużyty olej
i zalać do skrzyni poprzez lejek z siatką nowy olej.
Poziom oleju w skrzyni powinien być na wysokości
górnego znaku zgłębnika, opuszczonego do oporu w
otwór wlewowy przy nie zakręconym korku.
Przy
zmianie oleju jednego gatunku na drugi należy wymyć
skrzynię biegów po zlaniu zużytego oleju. W tym
celu należy wlać do skrzyni 1,4 1 oleju do przemycia,
zakręcić korek otworu wlewowego, włączyć
silnik i przy średnich obrotach wału korbowego pozwolić
mu popracować 2 - 3 min przy kolejno załączanych
1, II, III i IV biegiem (motocykl powinien stać na podnóżku
przy podniesionym tylnym kole). Następnie należy zlać
olej przeznaczony do przemycia i wlać nowy olej poprzez
lejek z siatką.
Zabrania się przedłużonej
jazdy na luzie lub pracy silnika przy wyłączonym
sprzęgle, ponieważ powoduje to przegrzewanie się
łożyska oporowego i jego uszkodzenie.
Dla uniknięcia
trudności pozycję neutralną lub biegi bliskie
pozycji neutralnej (I lub II) zaleca się pozostawiać do
całkowitego zatrzymania motocykla w czasie zwalniania
prędkości. W przypadku nie włączania się
od razu jakiegoś biegu należy puścić dźwignię
sterowania sprzęgła (wtedy wał pierwotny zaczyna
się obracać), po czym znowu nacisnąć na
dźwignie sterowania sprzęgłem i włączyć
bieg.
Aby włączyć bez szarpnięć I
bieg lub bieg wsteczny przy ruszaniu z miejsca należy po
wyłączeniu sprzęgła do czasu włączenia
biegu odczekać kilka sekund, aż zmniejszy się
częstotliwość obrotów wału
pierwotnego.
Bieg wsteczny włącza się tylko
przy zasadniczym położeniu neutralnym, odpowiadającym
położeniu mechanizmu przełączania biegów
pomiędzy I i II biegiem. To położenie
sygnalizowane jest poprzez lampkę kontrolną pozycji
neutralnej. Użycie nadmiernej siły dla włączenia
biegu wstecznego w innych położeniach dysku
przełączającego może doprowadzić do
połamania. Do uszkodzeń doprowadza również
próba użycia nadmiernych sił przy włączeniu |
jakiegokolwiek
biegu przy włączonym biegu wstecznym. Włączania
i wyłączania biegu wstecznego nogą zakazuje
się!!!
Skrzynia biegów posiada jeszcze jedną
ustaloną pozycję neutralną pomiędzy III i IV
biegiem. Tej pozycji neutralnej należy używać przy
jeździe na luzie. Położenie neutralne należy
znajdować przy wyłączonej ręcznej dźwigni
sprzęgła.
Dla włączenia bez szarpnięć
III i IV biegu po jeździe luzem należy zwiększyć
częstotliwość obrotów silnika i zaraz potem
włączyć bieg.
W czasie pracy przy nie nagrzanej
skrzyni biegów w zimnych okresach roku może być
słyszalny szum (hałas) urządzenia zapadkowego
(grzechotki) mechanizmu rozruchowego. Przy tego typu objawach nie
należy znacznie podwyższać obrotów silnika.
Po nagrzaniu się skrzyni biegów szum zanika.
Dla
bardziej pewnego uszczelnienia połączenia wału
giętkiego prędkościomierza z pokrywą skrzyni
biegów może być zamontowany pierścień
gumowy. Dla zapobieżenia zanieczyszczeniom wgłębienie,
w którym umieszczony jest pierścień, powinno być
wypełnione stałym smarem.
WSKAZÓWKI
DOTYCZĄCE DEMONTAŻU I MONTAŻU
Demontaż
przeprowadza się w następującej kolejności.
1.
Zdjąć dźwignię mechanizmu rozruchowego,
dźwignię wyłączenia sprzęgła,
suwak, łożysko oporowe i końcówkę
drążka wyłączenia sprzęgła. Zdjąć
dysk złącza oporowego.
2. Odkręcić dwie
śruby mocujące tuleje wału mechanizmu rozruchowego
do przedniej ściany obudowy, zdjąć naciąg
sprężyny wału mechanizmu rozruchowego.
3.
Odkręcić dziewięć śrub mocujących
pokrywę.
4. Ustawić oś dźwigni wyłączenia
sprzęgła, przeciągnąć poprzez nią
miękki sznur. Przytrzymując pokrywę za sznur,
lekkimi uderzeniami wybić wały pierwotny i wtórny.
Zdjąć pokrywę. W czasie pracy zwracać uwagę
na kompletność podkładki. Zdjąć koła
zębate pasożytnicze biegu wstecznego. Zdjąć z
wału wtórnego koło zębate wstecznego biegu
z widełkami.
5. Zsunąć wał mechanizmu
rozruchowego w komplecie, zdjąć z wału
pośredniczącego sprężynę, koła
zębate i podkładki.
6. Zsunąć wałek
widełek z otworów w obudowie (nie wyjmując go z
widełek).
7. Wyjąć widełki z wałkiem
z wpustów w dysku przełączającym.
8.
Nałożyć dysk złącza oporowego na wał
wtórny, zamocować go nakrętką.
9.
Lekkimi uderzeniami po przednim zakończeniu wału
pierwotnego i dysku złącza sprężynującego
należy wybić wały z widełkami z obudowy.
10.
Odciągnąć trochę ustalacz, zdjąć z
osi dysk przełączający.
11. Zsunąć
wałek grzechotki, grzechotkę, sprężynę.
12.
Wyjąć zawleczkę i odkręcić nakrętkę
mocującą krzywki wykorbionej, zdjąć krzywkę
wykorbiona z rowków wału przełączającego,
zsunąć wał przełączający.
13.
Zdjąć rączkę wyłączania biegu
wstecznego, zsunąć z obudowy trzpień i dźwignię.
|
Montaż
przeprowadza się w następującym porządku:
1
Zamontować mechanizm przełączania.
2.
Zamontować wał pierwotny w całości do obudowy
tak, żeby jego przednie łożysko było utopione
w łożysko obudowy na połowie długości.
3.
W żłobki złącz przełączania biegów
wału wtórnego wprowadzić widełki,
przeprowadzić przez nie wałek widełek i zamontować
wał wtórny do obudowy. Lekkimi uderzeniami młotka
z miękkiego metalu wbić wał do obudowy tak, żeby
połączyć wieńce kół zębatych
na wale pierwotnym i wtórnym, wtłoczyć wały
do oporu w obudowę. Wprowadzić widełki w żłobki
dysku przełączającego, a wałek widełek w
obudowę.
Dalszy montaż nie powoduje trudności i
przeprowadza się w odwrotnej kolejności niż
demontaż.
|
PRZEKŁADNIA
GŁOWNA I MECHANIZM RÓŻNICOWY
Przekładnia
główna i mechanizm różnicowy zmontowane
są we wspólnej rozbieralnej obudowie, składającej
się z trzech części: pokrywy 1 (rys. 23),
dyferencjału, obudowy dyferencjału 3 i obudowy
przekładni głównej 8.
Przekładnia główna
składa się z pary spiralno-stożkowych kół
zębatych 7 i 9.
Dyferencjał cylindryczny motocykla
składa się z takich podstawowych elementów: z
dwóch piast 8 i 14 , dwóch satelitów 10,
dwóch pasożytniczych kół zębatych 13
i czaszy dyferencjału 15.
Piasta 8 zamontowana jest w
obudowie przekładni głównej na dwóch
łożyskach igiełkowych, piasta 14 - w czaszy
dyferencjału.
Satelity i pasożytnicze koła
zębate zamontowane są na osiach 11, czopy których
z jednej strony wchodzą w czaszę 15 dyferencjału,
a z drugiej - w duże stożkowe koło zębate
9.
Czasza i koło zębate centrują się przy
pomocy dwóch rolek i ściągają się za
pomocą dwóch śrub, które zabezpiecza się
specjalną zamykającą podkładką.
Zmontowany
dyferencjał ustawia się na dwóch łożyskach:
kulkowym 18, zamontowanym w obudowę dyferencjału i
rolkowym w obudowie przekładni głównej.
Napęd
od dyferencjału na koło przyczepy bocznej przekazuje
się parą kół zębatych 18 i 19. Koło
zębate 18 montuje się na trzpieniach piasty 14 i ustala
się pierścieniem zabezpieczającym 20. Nakrętka
5 ma na obu końcach lewy gwint.
Olej do obudowy
przekładni głównej wlewa się poprzez otwór
wlewowy, a do mechanizmu różnicowego - poprzez otwór
z boku na pokrywie. Przy obniżeniu się poziomu oleju
poniżej dolnego znaku na zgłębniku zabrania się
eksploatacji motocykla.
|

Rys.
24 Reduktor
1.
Zespół wału kardana;
2. Zespół
nakrętki z dławikiem;
3. Pokrywa lewa;
4.
Podkładka;
5. Zespół dźwigni
zawieszenia (wahadło);
6. Pokrywa prawa; |
7.
Uszczelka kołnierzowa;
8. Pokrywa
uszczelki;
9. Oś koła wózka
bocznego;
10. Łożysko kulkowe;
11. Łożysko
kulkowe;
12. Tuleja; |
13.
Łożysko kulkowe;
14. Łożysko
kulkowe;
15. Łożysko kulkowe;
16. Koło
zębate małe;
17. Kołpak reduktora; |
|
REDUKTOR
Siła
od mechanizmu dyferencjału poprzez poprzeczny wał
kardana przekazywana jest na małe koło zębate 16
(rys. 24) reduktora, które sprzężone jest z
kołem zębatym 11.
Poprzeczny wał kardana
wykonany jest konstrukcyjnie tak, że z powodu własnej
sprężystości tonuje gwałtowne obciążenia,
powstające w przekładni siłowej napędu koła
wózka bocznego.
Koło zębate 16 jest zamienne
z kołem zębatym 19 (rys.23) dyferencjału. Koło
zębate 11 (rys. 24) zamontowane jest na dwóch
łożyskach kulkowych 10 i 13.
Pokrywy 3 i 6
zamocowuje się do obudowy za pomocą śrub.
Szczelność
reduktora zabezpiecza podkładka 4, uszczelka zwrotna 7 i
dwie gumowe uszczelki, wprasowane na nakrętkę 2.
Olej
do obudowy reduktora wlewa się poprzez otwór
zalewowy. Przy obniżeniu się poziomu oleju poniżej
dolnego znaku na pręcie zabrania się eksploatować
motocykl.
Przy montażu wału kardana reduktora należy
zwracać uwagę na położenie widełek
przegubów. Widełki nasadzone na rowki wału
kardana powinny znajdować się w jednej
płaszczyźnie.
Obsługa dyferencjału i
reduktora sprowadza się do kontroli poziomu oleju i
okresowej wymianie oleju w terminach wykazanych w rozdz. "Obsługa
techniczna".
Wymianę oleju w dyferencjale i
reduktorze zaleca się przeprowadzić bezpośrednio
po powrocie z jazdy gdy olej jest ciepły i dobrze się
zlewa. Jeżeli w dyferencjale i reduktorze używa się
oleju wielosezonowego, to można nie przemywać obudowy
przy wymianie oleju. Jeżeli przy wymianie używamy
innego oleju, to obowiązkowo należy przemyć
obudowy dyferencjału i reduktora olejem, którym
przemywamy skrzynię biegów i w takiej samej
kolejności. Łożyska igłowe wału kardana
smaruje się smarem Liton-24 używając smarownicy
wkręconej do krzyżaka łożysk.
Do
smarowania przegubu wału kardana należy zdjąć
uszczelkę gumową i odkręcić kluczem wpustowym
kołpak ochronny.
Kołpaki 23 (rys. 23) dyferencjału
posiadają gwint lewoskrętny, a kołpak 17 (rys. 24)
reduktora - prawoskrętny |
KOŁA
Koła
motocykla (rys. 25) mają stalową obręcz, lity
korpus aluminiowy, wzmocniony stalowym bębnem hamulcowym. W
obudowie każdego koła zamontowane są stożkowe
regulowane łożyska rolkowe.
Labiryntowe
uszczelnienie przy połączeniu hamulców z kołami
zabezpiecza elementy hamulca od bezpośredniego oddziaływania
błota.
OBSŁUGA
KÓŁ
W
okresie docierania możliwe jest poluzowanie naciągu
szprych w kołach (z doświadczenia wiadomo, że
szprychy trzeba naciągać przez cały okres
eksploatacji w zasadzie co 200 - 300 km, dotyczy to zwłaszcza
kół napędowych). Oznakami słabego naciągu
szprych jest dźwięk niskiej częstotliwości
przy ich obstukiwaniu.
Dlatego w okresie docierania należy
okresowo sprawdzać naciąg szprych i dociągać
w razie konieczności. W dalszym okresie, po zwiększeniu
przebiegu liczba szprych, których naciąg osłabnie
znacznie się zmniejsza. Szprychy powinny być
naciągnięte równomiernie i mocno. Naciąg
sprawdza się stukając po szprychach kluczem lub innym
metalowym przedmiotem, a równomierny ich naciąg
określa się po jednakowym dźwięku wydawanym
podczas postukiwania. Równocześnie przy sprawdzaniu
naciągu szprych w czasie docierania motocykla należy
sprawdzać przerwę łożyskową kół
i w razie konieczności regulować ją.
Porządek
regulacji łożysk jest następujący:
-
unieść koło;
- wyjąć oś;
-
zdjąć podkładkę zabezpieczającą
przed pyłem;
- wstawić i zakręcić oś
(bez podkładki);
- przytrzymując koło płynnie
dokręcić nakrętkę aż do likwidacji
przerwy (określa się poprzez kołysanie kołem;
-
odkręcić nakrętkę o 100 -15°;
-
przytrzymując nakrętkę dokręcić
kontrnakrętkę;
- wyjąć oś i założyć
podkładkę zabezpieczającą przed pyłem,
wstawić i zakręcić oś;
- sprawdzić
obecność luzu w zespole łożyska i lekkość
obracania się koła. Luz powinien być nieznaczny.
Nadmierne ściągnięcie łożyska jest
niedopuszczalne.
Po regulacji łożysk należy
sprawdzić ich nagrzewanie się w czasie jazdy
motocyklem. Temperaturę sprawdza się ręką
bliżej środkowej części obudowy koła, od
razu po przejechaniu 5 -6 km bez zatrzymywania się i
hamowania.
|
Jeżeli
łożyska skręcone są nadmiernie, to obudowa
koła będzie silnie nagrzana (sprawdza się na
dotyk) i należy ponowić regulację. (Uwaga
praktyczna: oryginalne, radzieckie łożyska dość
szybko tracą swe właściwości i ich regulacja
nic nie daje: po przejechaniu kilku kilometrów powraca
stan sprzed regulacji. Dlatego warto je zastąpić
niezbyt drogimi, a znacznie lepszymi łożyskami
polskimi.)
Sprawdzanie ściśnięcia łożysk
kół i ich regulację a także smarowanie
łożysk należy przeprowadzać w terminach
wykazanych w rozdziale „Obsługa
techniczna".
Smarowanie łożysk kół
przeprowadza się w następującej kolejności:
-
zdjąć koło, odkręcić kontrnakrętkę
2 (rys.25) i nakrętkę 1;
- wstawić w łożyska
oś kół od strony rowkowanego wieńca piasty
i lekkimi uderzeniami po pogrubionej stronie osi wytłoczyć
łożyska (zewnętrznej obejmy łożyska
zamontowanej od strony rowków nie wytłaczać);
-
usunąć stary smar z łożysk i piasty, przemyć
je w nafcie i wysuszyć;
- nasmarować łożyska
świeżym smarem i złożyć koło w
odwrotnej kolejności;
- wstawić koło na miejsce
i wyregulować ściśnięcie łożysk;
Rys.
25 Koło
1.
Nakrętka regulacji łożysk;
2.
Kontrnakrętka;
3.
Łożysko stożkowe; |
OPONY
Okres
eksploatacji opon zależy w znacznym stopniu od ciśnienia
powietrza w nich i od obciążenia. Jazda na oponach o
obniżonym ciśnieniu powietrza powoduje uszkodzenie
bieżnika i kordu po bokach opony,
W okresie długotrwałej
eksploatacji motocykla przy niepełnym obciążeniu
(kierowca i jeden pasażer w wózku bocznym) zaleca się
obniżenie ciśnienia powietrza w oponie tylnego koła
do 0.05 MPa (0.5 KG/cm2).
Opona tylnego koła pracuje w
ciężkich warunkach. Ażeby zabezpieczyć
równomierne zużycie wszystkich opon, koniecznym jest
po każdych 5000 km zamieniać koła miejscami, tzn.
założyć tylne koło na miejsce przedniego,
przednie koło na miejsce koła w wózku bocznym,
koło wózka bocznego na miejsce koła zapasowego i
koło zapasowe na miejsce koła tylnego.
Długotrwały
postój (powyżej 30 dni) motocykla na oponach jest
zabroniony. Jeżeli motocykl jest poddany konserwacji, to
powinien być ustawiony na podpórkach, które
zabezpieczają opony przed obciążeniem.
W
procesie eksploatacji może powstać konieczność
remontu dętek (usuniecie dziury) lub ich zamiana, co
związane jest z demontażem i montażem
opon.
Demontaż. Aby zdjąć oponę należy:
-
w pełni wypuścić powietrze z dętki;
-
wepchnąć wentyl do wnętrza opony;
- położyć
koło na posadzkę, stanąć oboma nogami na boki
opony i wdusić je w zagłębienie felgi;
- od
strony wentyla w odległości np. 1/4 obwodu podnieść
bok opony łyżkami montażowymi i przenieść
go ponad brzeg felgi. Przeciwna strona opony powinna być
przy tym w zagłębieniu felgi;
- przesuwając
obie łyżki montażowe po obwodzie felgi, stopniowo
wyjąć cały bok opony na zewnątrz, a następnie
wyjąć dętkę.
W razie konieczności
druga stronę opony zdejmuje się w ten sam
sposób.
Usunięcie uszkodzenia dętki.
Uszkodzone miejsce dętki można wykryć po szumie
wylatującego powietrza. Jeżeli dziura jest bardzo mała,
to dętkę należy zanurzyć w wodzie i wtedy
bąble powietrza wskażą miejsce uszkodzenia.
Uszkodzenie usuwa się poprzez wulkanizację. W warunkach
drogowych remont przeprowadza się przy pomocy zestawu
naprawczego dokładnie według zawartej w nim
instrukcji.
Jeżeli niesprawny jest wentyl należy go
wymienić na nowy.
|
Jeżeli
powietrze przechodzi pomiędzy wentylem i dętką,
należy dokręcić nakrętkę mocująca
wentyl, posługując się dwoma kluczami.
Montaż.
Montaż opony i dętki należy przeprowadzić w
następującej kolejności:
- posypać talkiem
wewnętrzną powierzchnię opony;
- nałożyć
na obręcz specjalną taśmę tak, żeby
otwór dla wentyla w taśmie pokrył się z
otworem w obręczy. Zwracać uwagę na to, aby taśma
przykrywała wszystkie główki złączek a
szprychy nie wystawały z tych główek;
-
włożyć część boku opony w
zagłębienie obręczy i nałożyć za
pomocą łyżek montażowych cały bok na
obręcz koła;
- wstawić wentyl dętki w
otwór obręczy, wkręcić zawór do
wentyla dętki, lekko napompować dętkę i
włożyć ja do opony. Zwracać uwagę, aby
nie utworzyły się fałdy;
- nałożyć
druga stronę opony, zaczynając od przeciwnej strony niż
wentyl. Zwracać uwagę na to, aby włożona
cześć opony wchodziła w zagłębienie w
obręczy. Zwykle np. 2/3 obwodu opony zakłada się
rękami, a pozostałą cześć za pomocą
łyżek montażowych. Przy posługiwaniu się
łyżkami montażowymi uważać na to, aby
nie uszkodzić dętki. Nie przykładać dużych
sił przy montażu opony, aby nie uszkodzić
zbrojenia opony;
- po założeniu opony należy
wentyl lekko wsunąć do wnętrza, podpompować
oponę i opukać młotkiem po obwodzie opony, żeby
równomiernie ułożyła się w zagłębieniu
obręczy;
- napompować dętkę do potrzebnego
ciśnienia i nakręcić kapturek; sprawdzić
prawidłowość ułożenia się opony na
obręczy (paski kontrolne na oponie powinny być ułożone
koncentrycznie w stosunku do obręczy).
UWAGA: Na
dętkach z wentylami gumowo - metalowymi nie stosuje się
kontrnakrętki na wentyl ! |
WIDEŁKI
PRZEDNIE
Przednie
widełki składają się z dwóch rur,
nasadek, sprężyn, elementów hydraulicznych
amortyzatorów, poprzeczki i mostka z trzpieniem kolumny
kierowniczej. Na widełkach zamontowany jest stabilizator
kierownicy.
Elementami nośnymi widełek są rury
30 (rys. 26), wstawione do rozciętych otworów mostka
18 i ściśnięte w nim za pomocą śrub
ściągających 47. Rury zakończone są
stożkami, na które nachodzi trawersa 3. Do górnej
części stożków rur przykręcone są
nakrętki 8, które łączą rury z
trawersą. Pomiędzy trawersą i mostkiem na rurach
widełek zamontowane są osłony 27 wraz z
wspornikami 1 zamocowania reflektorów. Na dolnej części
rur nałożone są tuleje 32, podtrzymywane przed
zsuwaniem się pierścieniami zabezpieczającymi 33.
W rurach nad tulejami znajdują się prostopadłe
przewiercenia dla doprowadzenia oleju. Wewnątrz rur znajdują
się drążki 45 amortyzatora. Od góry drążki
wkręcone są w nakrętki 8 i zabezpieczone
kontrnakrętkami 7. W dolnej części do drążków
przymocowane są prowadnice 42. Nad prowadnicami na drążkach
swobodnie nasadzone są tłoki 43. Przerwa pomiędzy
przewierceniem w tłoku i drążkiem stanowi kanał
przeciekowy dla cieczy tłumiącej amortyzatora
hydraulicznego. Sprężyny spiralne 46 nałożone
są na drążki amortyzatora i zamocowane: od góry
- na spiralnych wpustach górnych nasadek 4, od dołu -
nakrętkami 31, nakręconymi na obudowę
amortyzatorów.
Rury widełek z zamocowanymi
wewnątrz drążkami są nieruchomą częścią
widełek przednich, a nasadki 34 piór widełek
wraz z podstawami dla zamocowania osi koła przedniego i
rurami amortyzatorów hydraulicznych 40 - ruchomą
częścią widełek.
Oś koła
przechodzi poprzez otwór podstawy prawej nasadki i wkręca
się w gwint lewej nasadki, po czym blokuje się śrubą
35. W dolnej części obu podstaw nasadek znajduje się
otwór gwintowany dla śrub 36, mocujących stożki
39 amortyzatora. Nasadki wraz z górnymi tulejami 29 przy
wstrząsach przemieszczają się w dół
rur piór widełek, ślizgając się po
dolnych tulejach 32.
Uszczelki 28, nakręcone na rury
końcówek, podtrzymują górne widełki,
zapobiegając wyciekom oleju z przestrzeni widełek i
ochraniają powierzchnie rur od przedostawania się
piasku i pyłu. Składają się one z
trzyczęściowych kołnierzy, sprężyn
naciskowych, pierścieni filcowych i podkładek.
Uszczelki zamocowane są nakrętkami nakręconymi na
obudowy uszczelek.
|

|
Rys.
26. Widełki przednie
1.
Wspornik reflektora;
2. Podkładka;
3.
Trawersa;
4. Nasadka sprężyny
górna;
5. Pierścień
uszczelniający,
6. Nakrętka drążka;
7. Kontrnakrętka;
8.
Nakrętka ściągająca;
9.
Nakrętka motylkowa amortyzatora kierownicy,
10.
Specjalna nakrętka;
11. Podkładka zamka;
12.
Trawersa;
13. Nakrętka łożyska;
14.
Dławik;
15. Podkładka zabezpieczająca;
16.
Łożysko kulkowe;
17. Trzpień kolumny
kierownicy,
18. Mostek;
19. Uszczelka;
20. Podkładka
zabezpieczająca;
21.
22. Podkładka
cierna;
23. Podkładka z obsadką;
24.
Podkładka dolna; |
25.
Podkładka sprężynująca;
26. Nakrętka
specjalna;
27. Osłona pióra widełek;
28.
Dławik z nakrętką;
29. Tuleja górna;
30. Rura pióra widełek;
31. Nakrętka
amortyzatora;
32. Tuleja dolna;
33. Pierścień
zabezpieczający,
34. Końcówka pióra
widełek;
35. Śruba ściągająca;
36. Śruba mocująca stożek
amortyzatora;
37.
Podkładka specjalna;
38. Trzpień;
39.
Stożek;
40. Amortyzator;
41. Nakrętka;
42.
Prowadnica drążka;
43. Tłok;
44.
Trzpień;
45. Drążek;
46. Sprężyna;
47.
Śruba ściągająca;
48. Złącze
naprowadzające; |
|
Demontaż.
Widełek przednich bez szczególnej przyczyny nie
zaleca się rozbierać.
Przed demontażem należy
postawić motocykl na podstawkach, unieść przednie
koło i podłożyć podporę pod przednią
część motocykla.
Odkręcić nakrętkę
śruby 35 lewej końcówki, wykręcić oś
przedniego koła (lewy gwint) i wysuwając przednie koło
z tarczy hamulca, zdjąć koło (uprzednio
rozłączając linkę przedniego hamulca).
Wykręcić nakrętkę 26 i zdjąć
nakrętkę motylkową 9. Odkręcić nakrętkę
8 i 10, zdjąć nakrętkę 8 z drążków,
zdjąć trawersę 3. Poluzować nakrętki
śrub 47 i zdjąć końcówki 34 piór
widełek z rurami prowadzącymi 30. Wykręcić
obudowy uszczelek 28 i wyjąć rury 30 z końcówek
34. Zdjąć pierścienie zabezpieczające 33,
tuleje 32 i 29 i dławiki 28 z rur 30.
W celu rozebrania
amortyzatora widełek należy odkręcić śrubę
36 mocującą amortyzator i wyjąć zespół
amortyzatora 40. Następnie odkręcić śrubę
w górnej części drążka, zdjąć
górną końcówkę i sprężynę
widełek. Wykręcić dolną końcówkę
sprężyny i wyjąć drążek wraz z
tłokiem w całości (rury amortyzatora ochraniać
od uszkodzeń).
Aby rozebrać uszczelkę 28 należy
odkręcić nakrętkę uszczelki, wyjąć
pierścień filcowy, zdjąć sprężynę
kołnierza uszczelki i wyjąć kołnierz.
Przy
zdejmowaniu osłony 27 należy odkręcić
reflektor, odkręcić nakrętkę i wyjąć
śruby 47 zamocowania tarczy do osłony. Odkręcić
nakrętki mocujące przednią tarczę do mostka i
zdjąć tarcze. Wyjąć śruby i zdjąć
osłony.
Montaż. Przed złożeniem
widełek wszystkie elementy widełek powinny być
dokładnie oczyszczone z błota i przemyte w
nafcie.
Widełki należy składać w
następującej kolejności: złożyć
amortyzator 40, nałożyć sprężynę,
wstawić go wraz ze sprężyna do nasadki 34 widełek,
zakręcić śrubą 36. Na rurę 30 nałożyć
obudowę dławika 28 w całości, tuleje
prowadzące 29 i 32 i pierścień zabezpieczający
33. Wstawić rury 30 w nasadkę 34 i przykręcić
obudowę dławika na nasadce. Gwint obudowy dławika
zabezpieczyć minią lub lakiem bakelitowym. Wstawić
rury 30 z nasadką 34 do osłon i przełożyć
poprzez mostek 18 kolumny kierowniczej. Uprzednio zamocować
rury w mostku śrubą 47. Do każdego pióra
widełek zalać nowy olej.
MONTAŻ
DO RAMY
Przed
zamontowaniem przednich widełek do ramy należy
przeliczyć ilość kulek w łożyskach
kolumny kierowniczej (powinno być po 22 szt. w
każdym).
Wstawić kulki do obejm zaprasowanych do
główki ramy, na smarze Liton-24. Widełki wstawić
w główkę ramy i zamocować nakrętka 13,
następnie zamontować trawersę 3 na stożki rur
30. Wkręcić końce drążków
amortyzatora w nakrętki 8 i zakontrować kontrnakrętkami
7. |
Należy
zwracać uwagę na to, czy pomiędzy czołem
kontrnakrętki i górną końcówką
4 sprężyny była przerwa w przedziałach 0,2 -
0,4 mm. Lekko przykręcić nakrętkę 8 na
trawersie 3, popuścić śruby 47, dokręcić
śrubę 8 do oporu i przykręcić śruby 47;
dokręcić nakrętkę 10, zakręcić
śrubę motylkową 9 amortyzatora i zabezpieczyć
ją zawleczką.
Podłączyć linkę
przedniego hamulca do dźwigni na tarczy hamulcowej i wstawić
tarcze wraz z kołem pomiędzy pióra widełek.
Włożyć przez piastę i tarczę hamulca oś
przedniego koła i przykręcić je do oporu (lewy
gwint).
Zamocować oś w lewej końcówce
pióra widełek śrubą 35.
Sprawdzenie
i regulacja przerwy pomiędzy kontrnakrętką i górną
końcówką sprężyny. Przerwa pomiędzy
kontrnakrętką 7 i górną końcówka
sprężyny 4 powinna zawsze znajdować się w
przedziale 0,2 - 0,4 mm. Aby sprawdzić i wyregulować tą
przerwę, należy zdjąć przednie koło,
wykręcić nakrętkę 8 zamocowania rury do
trawersy i podnosząc końcówkę 34 do góry,
wyciągnąć z rury drążek wraz z nakrętką
i końcówką sprężyny. Jeśli przy
sprawdzeniu okaże się, że przerwę należy
wyregulować, to należy poluzować kontrnakrętkę
7 i trochę odkręcić nakrętkę 8 z drążka.
Wkręcając lub wykręcając kontrnakrętkę
na drążku, ustawić potrzebną przerwę
pomiędzy kontrnakrętką i końcówką.
Przetrzymując kontrnakrętkę kluczem, wkręcić
nakrętkę 8 do oporu do kierunku kontrnakrętki i
mocno je skręcić. Opuścić końcówkę
34 w dół i wkręcić nakrętkę 8 w
rurę widełek.
Wyregulowawszy przerwę w jeden
rurze widełek, w ten sam sposób należy
wyregulować przerwę w drugiej rurze.
Regulacja
łożysk kolumny kierowniczej. W procesie eksploatacji
motocykla koniecznym jest regulacja łożysk kolumny
kierowniczej. Należy je ścisnąć tak, aby
usnuć luz a jednocześnie zapewnić swobodny obrót
kierownicy.
Regulację ściśnięcia łożysk
przeprowadza się w następującej kolejności:
-
podnieść przednią część motocykla,
tak aby przednie koło nie dotykało ziemi;
-
wykręcić śrubę motylkową 3 amortyzatora
kierownicy i zdjąć podkładki 21-24.
- kołysząc
przednie widełki do góry i na dół za
pomocą kierownicy lub końcówek 34 piór
widełek, określić obecność luzu;
Jeżeli
jest luz w łożyskach to należy odkręcić
nakrętki wspornika mocowania kierownicy do trawersy i nie
odłączając linek ani przewodów
elektrycznych, zdjąć kierownicę z trawersy i
położyć ja na zbiorniku paliwa. Odkręcić
nakrętkę 10 i nakrętki ściągające
8, zdjąć nakrętki 8 z drążków i
zdjąć trawersę 12. Jeśli trawersa nie daje
się zdjąć z drążków, to lekkimi
uderzeniami młotka poprzez kawałek drewna zbić
trawersę z rur. Dokręcić nakrętkę 13
łożyska do oporu, a następnie poluzować o 1/8
- 1/6 obrotu. Znowu skontrolować luz w łożyskach.
Przednie widełki powinny obracać się bez zacięć
i zbytniego wysiłku.
|
Po
regulacji wstawić na miejsce trawersę kierownicy i
złożyć amortyzator kierownicy.
Wymiana
oleju w amortyzatorach. Przy wymianie oleju w amortyzatorach
przednich widełek koniecznie należy podnieść
przednią część motocykla, zdjąć
koło przednie i poluzować nakrętkę śrubą
47.
Wykręcić nakrętki ściągające
8, zdjąć je z drążków, zdjąć
lewe i prawe pióra widełek. Obrócić pióra
do góry końcówkami 34 i zlać wypracowany
olej. Zalać w rury 30 każdego pióra po 150 - 200
cm3 nafty, przemyć poprzez wstrząsanie wnętrze rur
i amortyzatorów piór widełek, zlać naftę
i zalać do rur nowy olej.
Aby
całkowicie zlać naftę użytą do
przemywania, należy pióra widełek utrzymać
końcówkami do góry w czasie 10 - 15 min.
ZAWIESZENIE
KOLA TYLNEGO
Siły
pionowe powstające od nierówności drogi
przyjmowane są przez koło i przenoszą się
poprzez dźwignie zawieszenia i amortyzator na ramę.
Amortyzatory sprężynowo - hydrauliczne łagodzą
uderzenia i tłumią drgania zawieszenia. Poziome siły
działające na koło przenoszą się na ramę
poprzez dźwignie zawieszenia, które zamontowane są
na gumowych tulejach. Takie przeguby zabezpieczają cichą
pracę i praktycznie się nie zużywają, dlatego
obsługa w czasie eksploatacji motocykla sprowadza się
do sprawdzenia skręcenia elementów
mocujących.
Amortyzatory sprężynowo -
hydrauliczne. Zespoły te są lekko odejmowalne i
wzajemnie zamienne.
Elementem sprężystym
amortyzatora jest sprężyna nośna 4 (rys. 27).
Tłumienie drgań realizowane jest amortyzatorem
hydraulicznym dwustronnego działania, znajdującym się
w korpusie 7, Korpus amortyzatora stanowi hermetyczne naczynie,
zamknięte od góry nakrętką 6 i pierścieniem
uszczelniającym 33, przez który przechodzi drążek
9. Wewnątrz korpusu znajduje się cylinder 8, w którym
tłok 27, zamocowany do drążka nakrętką
15, powoduje ciśnienie zwrotno – posuwiste.
W
dolnej części cylindra amortyzatora znajduje zawór
ciśnienia 26, a na górnym czole tłoka znajduje
się zawór zwrotny, składający się z
tarcz 22, 24 i sprężyny 23. W górnej części
cylindra zamontowana jest prowadnica drążka 28, obejma
31 pierścienia uszczelniającego i pierścień
uszczelniający 33.
Amortyzatory sprężynowo -
hydrauliczne posiadają urządzenia regulacyjne typu
szczękowego - ruchomą szczękę 11, nieruchoma
szczękę 12 - dla zmiany stopnia początkowego
ściśnięcia sprężyn w zależności
od obciążenia i stanu drogi.
Reguluje się
początkowe ściśnięcie sprężyn na
dwa położenia: pierwsze - sprężyny nie
ściśnięte (odpowiada obciążeniu:
kierowca i pasażer w wózku bocznym); drugie -
sprężyny ściśnięte (odpowiada
maksymalnemu obciążeniu i jeździe po złych
drogach). Regulację przeprowadza się obracając
specjalnym kluczem ruchomą szczękę 11 w kierunku
przeciwnym do ruchu wskazówek zegara, aż do
ustawienia jej w górnym położeniu.
|
DEMONTAŻ
Aby
rozebrać amortyzator należy go wyjąć z
motocykla, ustawiając motocykl na podstawkach. Następnie
ustawić amortyzator pionowo i skręcić jego dolne
zakończenie w imadle. Demontaż amortyzatora
przeprowadza się w następującym porządku:
1.
Naciskając na osłonę 3, obniżyć ja na 5
- 10 mm i zdjąć zwolnione przy tym ślizgacze.
2.
Zdjąć osłonę 3, sprężynę 4,
pierścień oporowy 10 i szczękę ruchomą
11.
3. Wyciągnąć do góry zakończenie
1 z drążkiem 9 i specjalnym kluczem odkręcić
nakrętkę 6. Wziąć ręką za górne
zakończenie drążka i potrząsając nim
podnieść do góry. W trakcie tego zespół
drążka z tłokiem 27, obejmą 31 i cylindrem
roboczym 8 powinien wyjść na zewnątrz.
4.
Zespół drążka z cylindrem i korpusem
dolnego zaworu zanurzyć w nafcie i podtrzymując lewą
ręką cylinder, prawą kilka razy poruszyć
drążkiem w górę i dół. Wyjąć
cylinder z drążkiem z nafty i podtrzymując jedną
ręką cylinder, wyjąć z niego drążek
razem z obejmą pierścienia uszczelniającego,
prowadnicą 28 i tłokiem. Wylać olej z cylindra i
korpusu amortyzatora.
5. Zamocować drążek za
górne zakończenie w imadle i odkręcić
nakrętkę 15 zaworu zwrotnego.
6. Zdjąć
tłok ze wszystkimi elementami zaworu, prowadnice drążka,
sprężynę 29 i obejmy 31 pierścienia
uszczelniającego w całości.
7. Wyjąć
ostrożnie z obejmy pierścień uszczelniający
filcowy 34, zdjąć uszczelkę nakrętki
zbiornika i wybić drewnianym prętem z górnej
strony obejmy pierścień uszczelniający gumowy
33.
8. Wycisnąć zawór ciśnienia z
cylindra roboczego lekkimi uderzeniami młotka po drewnianym
uchwycie.
Montaż amortyzatora odbywa się w odwrotnej
kolejności. Aby nie uszkodzić gumowego pierścienia
uszczelniającego przy wkładaniu obejmy pierścienia
uszczelniającego na drążek należy posługiwać
się nasadką stożkową.
Olej należy
wlewać przy zmontowanym cylindrze roboczym wraz z zaworem
ciśnienia w korpusie amortyzatora. Olej należy wlać
do górnej powierzchni cylindra roboczego, a jego resztę
do korpusu amortyzatora.
Po
zalaniu oleju należy włożyć do cylindra
roboczego drążek z tłokiem, zatkać cylinder
prowadnicą drążków i dokładnie
przybliżając korpus dławików blisko do
prowadnicy, zakręcić nakrętkę zbiornika. Po
tym poruszać ręka drążek z tłokiem, aby
usunąć powietrze z cylindra roboczego.
U w a g a :
Pełny demontaż amortyzatora należy przeprowadzać
tylko w razie konieczności wymiany elementów. Przy
kontroli lub wymianie oleju amortyzator rozbiera się w
zakresie pokazanym w pkt. 1- 4. Przy demontażu wewnętrzna
część cylindra, zewnętrzne części
tłoka i drążka chronić oraz zwracać
uwagę aby nie było zadrapań i wgnieceń. |

|
Rys.
27. Zespół amortyzatora
1. Zakończenie
górne;
2. Ślizgacz;
3. Osłona
górna;
4. Sprężyna;
5. Bufor;
6. Nakrętka
zbiornika;
7. Korpus amortyzatora;
8. Cylinder
roboczy,
9. Drążek;
10. Pierścień
oporowy;
11. Szczęka ruchoma;
12. Szczęka
nieruchoma;
13. Zakończenie dolne;
14. Obudowa zaworu
ciśnienia;
15. Nakrętka zaworu
zwrotnego;
16. Podkładka regulacyjna zaworu
zwrotnego;
17. Sprężyna zaworu
zwrotnego;
18. Podkładka zaworu zwrotnego;
19. Tarcza
zaworu zwrotnego; 20. Dysk zaworu zwrotnego;
21. Dysk
dławiącego zaworu zwrotnego;
22. Tarcza zaworu
wlotowego;
23. Sprężyna zaworu zwrotnego;
24. Tarcza
ograniczająca zaworu zwrotnego;
25. Trzpień zaworu
ciśnienia;
26. Zespól zaworu ciśnienia;
27. Tłok;
28. Prowadnica drążka;
29. Sprężyna
dławika;
30. Dławik nakrętki
zbiornika;
31. Obejma pierścienia
uszczelniającego;
32. Podkładka pierścienia
uszczelniającego;
33. Dławik drążka
gumowy;
34. Pierścień uszczelniający drążka
filcowy;
35. Podkładka naciskowa; |
OBSŁUGA
W
amortyzatorach należy wymieniać olej. co 10,000 km
przebiegu. Zaleca się zdejmować amortyzatory, rozebrać
je, przemyć wszystkie elementy w czystej nafcie i zalać
nowym olejem.
Należy zwracać baczną uwagę
aby na odbojniki i silentbloki nie dostały się olej i
benzyna. Jeżeli w amortyzatorach pojawi się przeciek,
to należy je przejrzeć i wymienić uszkodzone
elementy (pierścień uszczelniający, drążek). |
HAMULCE
Wszystkie
hamulce w motocyklu są typu mechanicznego.
Przedni
hamulec ma oddzielną linkę hamulca od dźwigni na
kierownicy. Hamulec tylnego koła i koła wózka
bocznego - ma linkę od wspólnego pedału nożnego.
HAMULEC
PRZEDNI
Szczęki
hamulcowe 1 (rys. 28) kulistymi gniazdami opierają się
na główkach popychaczy 5, naciskowymi płaszczyznami
na krzywki 3, zamontowane w dysku 4. Do krzywek za pomocą
rowków przymocowane są dźwignia napędzająca
i dźwignia napędzana, znajdujące się na
przedniej stronie tarczy hamulca.
Dźwignie są
połączone miedzy sobą cięgłem 2,
regulowanym na długości.
Dźwignia napędzająca
jest połączona linką z dźwignią
sterowania przednim hamulcem znajdującą się na
kierownicy motocykla.
Przy nacisku na dźwignię
sterowania przednim hamulcem linka działa na dźwignię
napędzającą hamulca, i obie dźwignie
równocześnie obracają krzywki, w wyniku czego
szczęki rozchodzą się i dociskają się do
bębna hamulcowego koła. Do położenia
początkowego szczęki powracają pod działaniem
dwóch sprężyn.
Dla kompensacji zużycia
okładzin hamulcowych w konstrukcji hamulca przewidziane są
specjalne urządzenia.
|

Rys.
28 Przedni hamulec
1.
Szczęka hamulca;
2. Cięgno z widełkami;
3.
Krzywka;
4. Tarcza;
5. Popychacz;
6. Sprężyna;
7.
Dźwignia napędzająca; |
8.
Dźwignia napędzana;
9.
10.
Palec,
11. Króciec regulacyjny,
I -
Podkładka nie pokazana,
A-A Obrócenie |
Początkowo
kompensację zużycia okładzin ciernych przeprowadza
się naciągiem osłony linki, poprzez wykręcenie
króćca regulacyjnego 11. Dalej, gdy regulacja za
pomocą króćca nie jest już możliwa,
należy wkręcić króciec do oporu, zdjąć
ze szczęk obie dźwignie (napędzająca i
napędzana) i ustawić je w nowym położeniu,
obracając je w stosunku do szczęk o 10° w kierunku
przeciwnym do ruchu wskazówek zegara (o jeden ząbek).
Po tym wykręcaniem króćca przeprowadzić
należy regulację hamulca.
Gdy w procesie
eksploatacji i dalszego zużycia się okładzin
hamulcowych długość króćca znowu okaże
się niedostateczna, aby przeprowadzić regulację,
koniecznym jest rozebranie hamulca i obrócenie szczęk
wokół własnej osi o 180°. Przy tym, dzięki
niesymetryczności szczęki w stosunku do osi jej
sworznia, szczęki hamulca ustawiają się w
położenie, przy którym skompensowane jest
zużycie okładzin hamulcowych do średnicy 3
mm.
Jeżeli zużycie jest mniejsze niż wskazane
uprzednio, to obrót szczęki jest przedwczesny i
doprowadza do tego, że szczęki w podciągniętym
hamulcu nie wejdą w bęben hamulcowy koła. Nie
wyklucza się przypadku, gdy obrót szczęki o 180°
jest możliwy bez uprzedniego przestawienia dźwigien.
Zużycie
okładzin hamulcowych w razie konieczności można
dodatkowo kompensować podłożeniem podkładek
regulacyjnych jednakowej grubości pomiędzy popychaczami
i ich podpórkami w tarczy hamulca (na wyposażeniu
motocykla nie ma zapasowych podkładek).
|
Demontaż
hamulców jest prosty i nie wymaga wyjaśnień.
Montaż hamulca przeprowadza się w następującej
kolejności: - założyć krzywki w otwory
dysków;
- założyć sprężynę
powrotną 9 prostym zaczepem w otwór dysku;
-
założyć szczęki wraz ze sprężynami
na okrągłe końce popychaczy i powierzchnie oporowe
krzywek;
- zamontować i zabezpieczyć na rowkach
krzywek dźwignię napędzającą i
napędzaną, osiągając kąty 82° ±5°,
jak pokazano na rys. 27. Nierównoległość
dźwigni pomiędzy sobą nie powinna przewyższać
5°.
Po zamontowaniu hamulca do motocykla należy
połączyć cięgno z dźwignia
napędzającą.
Obrócić każdą
dźwignię zgodnie ze wskazówkami zegara, aż
szczeki hamulcowe zetkną się z bębnami hamulcowymi
koła.
Wykręcając lub wkręcając cięgno
w widełki należy wyregulować odstęp pomiędzy
środkami otworów widełek tak, ażeby palec
łączący widełki z dźwignią
napędzaną, swobodnie wchodził w otwory dźwigni
i widełek. Przy tym cięgno powinno być wkręcone
w widełki na długość nie mniejszą niż
5 mm.
Zakontrować cięgno w widełkach, połączyć
cięgno z dźwignią napędzanq, zabezpieczyć
zawleczką. Założyć sprężynę
powrotną.
Przy przestrzeganiu wyżej podanych zasad
montażu będą spełnione warunki zapewniające
pewne działanie hamulca, spowodowane jednoczesnym dociskiem
obu szczęk hamulcowych do bębna hamulcowego koła.
Przy montażu hamulca szczęki hamulcowe należy
założyć na ich poprzednie miejsca, inaczej zmieni
się dopasowanie i na dłuższy czas pogorszy
efektywność hamowania.
Należy również
zwrócić uwagę, na jakie powierzchnie krzywek
opierały się szczęki, ponieważ powierzchnie
krzywek nie są symetryczne w stosunku do osi obrotu. Obie
szczęki powinny opierać się na płaskich
częściach krzywek, jednakowo rozmieszczone w stosunku
do trzpienia.
Regulację hamulca w czasie eksploatacji
przeprowadza się w razie konieczności, wykręcając
króciec regulacyjny, tak jak opisano wyżej. Po
regulacji króciec powinien być zakontrowany.
Hamulec
należy wyregulować w taki sposób, aby wyważone
koło swobodnie obracało się bez ocierania się
o szczęki i przy hamowaniu osiągnięta została
potrzebna efektywność i wygoda przy chwytaniu dźwigni
ręką.
Hamulec koła tylnego. Szczęki
hamulcowe 8 (rys. 29) opierają się gniazdami na
główkach popychaczy 2, a płaszczyznami
naciskowymi - na krzywkę 5. W szczęce znajduje się
wpust w którym zamontowany jest regulator 6. Przy obrocie
krzywki z regulatorem szczęki dociskają się do
bębna hamulcowego. |

Rys.
29 Hamulec koła tylnego
1.
Stożek regulacyjny,
2. Popychacz;
3. Oś
dźwigni;
4. Dźwignia;
5. Krzywka; |
6.
Regulator
7. Gwint dźwigni;
8. Szczęka
hamulcowa;
9. Sprężyna szczęk hamulcowych |
W
trakcie zużywania się okładzin ciernych przerwa
pomiędzy szczękami hamulcowymi i bębnem hamulcowym
koła powiększa się. Ażeby utrzymać
przerwę w koniecznych przedziałach w hamulcu
przewidziana została kompensacja zużycia w postaci
stożka 1.
Stożek w miarę potrzeby wkręca
się (z zewnętrznej strony tarczy hamulca) i przez to
rozsuwa popychacze 2, które przybliżają szczeki
hamulcowe do bębna i do krzywki. Dla ustalenia się
położenia stożka na jego powierzchni znajdują
się podłużne rowki, do których wchodzą
popychacze pod działaniem sprężyny 9, ściągającej
szczęki hamulcowe.
Konieczność regulacji
hamulca określa się po wielkości ruchu swobodnego
dźwigni zewnętrznego króćca 9 (rys. 30).
|
Ruch
swobodny uważa się za normalny, jeżeli nie
przekracza on 35 mm.
Jeżeli jest on większy to
należy podnieść koło tylne i kluczem nr 8
przekręcić wystający kwadrat stożka
regulacyjnego (jak to pokazano na rys. 31) zgodnie z ruchem
wskazówek zegara, aż szczęki hamulcowe zaczną
się ocierać o bęben hamulcowy przy obracaniu koła.
Po tym należy stożek regulacyjny obrócić z
powrotem o jedną zaznaczoną działkę, tak aby
koło obracało się bez ocierania o szczęki
hamulcowe.

Rys.
30 Napęd hamulca koła tylnego i koła wózka
bocznego
1.
Podnóżek;
2. Pedał;
3.
Regulator;
4. Włącznik sygnalizacji
hamowania;
5. Sprężyna powrotna
linki;
6. Króciec regulacyjny,
7.
Linka hamulca koła wózka bocznego;
8.
Nakrętka;
9. Oś dźwigni; |
10.
Dźwignia krzywki hamulca;
11. Cięgno tylne;
12.
Dźwignia pośrednia;
13. Cięgno
przednie;
14. Śruba regulacyjna regulatora;
15.
Złącze;
16. Widełki cięgna tylnego;
17.
Oś zewnętrznego przegubu;
18. Opora; |
|
HAMULEC
KOŁA TYLNEGO I WÓZKA BOCZNEGO
Napęd
hamulca koła tylnego i koła wózka bocznego
realizowany jest pedałem nożnym poprzez wyrównywacz
3 (rys. 30). Górna cześć wyrównywacza
połączona jest z napędem hamulca koła
tylnego, dolna - z hamulcem koła wózka bocznego.
Obecność wyrównywacza zabezpiecza prawidłowe
rozdzielenie momentów hamowania i synchroniczną prace
hamulców.
Długość cięgna przedniego
13 napędu hamulca koła tylnego powinna być taka,
aby zabezpieczyć odległość 3 - 9 mm od
płaszczyzny symetrii wyrównywacza do osi obrotu
dźwigni zawieszenia koła tylnego. Przy tym powierzchnia
symetrii wyrównywacza powinna zgadzać się z
płaszczyzną symetrii górnej części
pedału 2 hamulca. Pedał hamulca powinien dotykać
do wałka gumowego podnóżka 1, który
powinien być ustawiony zgodnie z rys. 31 (5°
-13°).
Regulację długości tylnego cięgna
11 przeprowadza się przy jego montażu lub remoncie
hamulców.
Regulację przeprowadza się przy
zdjętym kole, zmontowanym hamulcu i przylegającym
pedale hamulca do podnóżka motocykla w następującej
kolejności:
- dźwignię 10 odciągnąć
do przodu (zgodnie z ruchem wskazówek zegara) i
wykręcić
nakrętkę 8 z dźwigni;
- wykręcając
lub wkręcając nakrętkę, doprowadzić jej
czoło do osi 9 bez luzu (przerwy). Dopuszcza się
przesunięcie dolnej główki dźwigni krzywki
do 3 mm w przód (w stronę hamowania). Utopienie
nagwintowanej części cięgna w nakrętce jest
niedopuszczalne.
Hamulec koła wózka bocznego.
Hamulec ten zbudowany jest analogicznie jak hamulec koła
tylnego. Napęd hamulca realizowany jest linką 7 (rys.
30). Z dwóch stron na lince zamontowane są króćce
regulacyjne 8, na które nałożona jest gumowa
rurka zabezpieczająca. Dla ochrony linki od zabrudzenia
należy zwracać uwagę, aby rurka była
naciągnięta na króćce, złącze
gumowe 17 uszczelniało jego przedni koniec.
Sprawdzenie
regulacji hamulca i jego napędu przeprowadza się przy
podniesionym kole.
Na początku należy sprawdzić
wyregulowanie przerwy pomiędzy szczękami hamulcowymi i
bębnem przy pomocy stożka regulacyjnego (tak samo, jak
przy hamulcu koła tylnego). Przy tym położenie
króćców regulacyjnych 6 powinno wykluczać
działanie linki na dźwignie krzywki hamulca.
Następnie
reguluje się naciąg linki króćcami 6.
Początkowo należy wykręcić króćce
lub jeden z nich i ustawić położenie początku
hamowania koła. Po tym, wkręcając jeden z króćców
spowodować, aby koło nie było hamowane.
Koniecznym
warunkiem pewnej pracy napędu hamulca koła wózka
bocznego jest brak zgięć linki. Należy zwrócić
uwagę na położenie podpory 20. W razie
konieczności należy ją wkręcić lub
wykręcić i zakontrować.
Dla zmniejszenia tarcia
linki o pancerz w czasie regulacji należy linkę lekko
potrząsać. Nadmierny naciąg linki może
spowodować poprzez wyrównywacz nie tylko hamowanie
koła wózka bocznego, ale i koła tylnego.
|
Po
zakończeniu regulacji systemu hamowania należy
sprawdzić efektywność hamowania przy niewielkiej
prędkości i czy hamulce nie nagrzewają się w
czasie jazdy.
Korpusy kół nie powinny nagrzewać
się przy jeździe bez hamowania. Jeżeli przy
okresowym hamowaniu stwierdzi się nadmierne nagrzewanie
korpusów kół, to należy powiększyć
przerwę pomiędzy szczękami i bębnami
hamulcowymi.
Na wsporniku pedału 2 znajduje się
śruba regulacyjna 4, ograniczająca obrót
wyrównywacza 3. Przy prawidłowo ustalonej śrubie
regulacyjnej 14 przy nacisku na pedał z siłą 40 -
50 KG przerwa pomiędzy wyrównywaczem 3 i czołem
śruby 14 powinna być w przedziałach 2 - 3
mm.
Opieranie się wyrównywacza o śrubę
14 osłabia działanie hamulca koła wózka
bocznego lub nawet całkowicie go wyłącza. Opisana
śruba służy jako punkt podparcia dolnej części
wyrównywacza w przypadku zerwania się
linki.
Smarowanie elementów hamulca przeprowadza się
w okresach wskazanych w rozdziale "Obsługa techniczna".
Wycieki smaru powinny być usunięte, aby zapobiec
zabrudzeniu okładzin hamulcowych.
Zużycie okładzin
hamulcowych określa się poprzez głębokość
zanurzenia główek nitów, która nie
powinna być mniejsza niż 0,3 mm.

Rys.
31. Regulacja hamulca koła tylnego
|
SIODEŁKA
Sztywność
poszczególnych siodełek reguluje się w
zależności od ciężaru kierowcy i pasażera
przemieszczeniem resoru w dół podpory. Należy
przy tym poluzować śruby mocujące. Przemieszczenie
resoru w stronę przedniego zawiasu powoduje bardziej miękka
prace siodełka, a stronę przeciwną - bardziej
sztywną. Po regulacji należy śruby mocno
dokręcić.
Po każdych 2.500 km należy
sprawdzać dokręcenie elementów mocujących
siodełka.
WÓZEK
BOCZNY
Motocykl
przeznaczony jest do eksploatacji tylko z wózkiem bocznym.
Wózek boczny motocykla jest jednoosobowy i posiada
dźwigniowe zawieszenie koła na amortyzatorze sprężynowo
– hydraulicznym.
Nadwozie wózka bocznego jest
typu pasażerskiego, z blachy spawanej. Jest wyposażone
w miękkie siedzenie, składające się z dwóch
poduszek (siedzenia i oparcia). Lekko dające się wyjąć
oparcie odkrywa dostęp do bagażnika. Dlatego, aby
otworzyć bagażnik, należy nacisnąć na
przycisk zamka, znajdującego się na oparciu. Bagażnik
można zamknąć za pomocą specjalnego klucza.
Na wewnętrznej lewej ściance bagażnika znajdują
się zawiasy dla zamocowania pompy, jak również
kaseta dla umieszczenia kanistra i uchwyty dla zamocowania
łopaty.
Nadwozie wózka bocznego przymocowane jest
do przedniej rury ramy dwoma skoblami z poduszkami gumowymi.
Tylna cześć nadwozia przymocowana jest do dwóch
gumowych resorów, zamocowanych na przegubach tylnej rury
ramy.
Dla ograniczenia huśtania się nadwozia wózka,
w tylnej części ramy zamontowany jest trzpień
podpory wraz z gumowym odbojnikiem. Dla ochronny amortyzatora od
bardzo silnych uderzeń przy jeździe z pełnym
obciążeniem po drogach o złej nawierzchni, na
prawej podłużnej rurze ramy wózka bocznego
zamontowany jest ogranicznik ruchu amortyzatora z gumowym
odbojnikiem, przyjmującym uderzenia przy skrajnym wychyleniu
w dół dźwigni nośnej koła.
|

Rys.
32 Zamocowanie wózka bocznego do motocykla
1.
Cięgno przednie;
2. Cięgno tylne;
3. Tuleja
sprężynująca tylna;
4. Tuleja sprężynująca
przednia;
5. Wspornik;
|
Wózek
boczny zamocowany jest do motocykla w czterech punktach (rys.
32). Dwa dolne punkty zamocowania stanowią zawiasy
sprężynujące, obejmujące kuliste wsporniki
ramy motocykla. Tylny zawias sprężynujący
zmontowany jest we wsporniku, który mocuje się do
ramy wózka bocznego za pomocą dwóch śrub
ściągających.
Przy odkręconych śrubach
wspornik może być przekręcony lub wyjęty z
rury ramy wózka bocznego.
Górne mocowanie składa
się z dwóch cięgien regulowanych na długości.
Cięgna połączone są przegubowo z uszami ramy
wózka bocznego i wspornikami ramy motocykla.
Koło
wózka bocznego montuje się wspornikowo na osi
reduktora, przegubowo na ramie. Siły pionowe działające
na koło tłumione są amortyzatorem sprężynowo
-hydraulicznym, zamontowanym na łuku ramy i na wsporniku
reduktora na gumowych tulejo – przegubach.
Dźwignia
zawieszenia połączona jest z ramą przy pomocy
gumowych tulejo - przegubów, ujednoliconych z tulejami
zawieszenia koła tylnego motocykla.
Motocykl z prawidłowo
zamontowanym wózkiem bocznym lekko się prowadzi i nie
odchyla się od ustawionego kierunku jazdy. Ponieważ w
motocyklu kołami napędowy są dwa koła (koło
tylne i koło wózka bocznego), przy montażu wózka
bocznego w stosunku do motocykla należy uzyskać takie
położenie, przy którym koło wózka
bocznego jest równoległe do kół motocykla
oraz wszystkie koła są prostopadłe do poziomej
płaszczyzny drogi. Ustawienie wózka bocznego w
stosunku do motocykla sprawdza się w czasie jazdy z niedużą
prędkością po równej, poziomej drodze,
puszczając kierownicę. Motocykl nie powinien zbaczać
z drogi.
Jeżeli zachodzi konieczność regulacji
równoległego ustawienia kół, należy
poluzować śruby ściągające wspornik 5, i
wpuszczając lub wyciągając go z tylnej rury,
ustawić prawidłowe wzajemne położenie kół,
które można sprawdzić za pomocą dwóch
prostych listew, przyłożonych do kół na
wysokości 90-100 mm od ziemi.
Prostopadłość
kół w stosunku do drogi ustawia się poprzez
zwiększenie lub zmniejszenie długości cięgien
regulowanych 1 i 2.
Przy regulacji wszystkie przeguby należy
nasmarować smarem Liton-24.
|
OSPRZĘT
ELEKTRYCZNY
Osprzęt
elektryczny motocykla składa się ze źródeł
i odbiorników energii elektrycznej, urządzeń
pomocniczych i instalacji elektrycznej. Zabezpiecza on zapłon
mieszanki w cylindrach silnika, oświetlenie oraz
sygnalizację świetlną i dźwiękową.
Schemat
instalacji elektrycznej pokazany jest na rys 33.
Instalacja
elektryczna zbudowana jest z przewodów niskonapięciowych
według schematu jednożyłowego, to znaczy zasilanie
podane jest jednym przewodem (od "plusa"' akumulatora i
alternatora ) do odbiorników energii elektrycznej. Drugim
przewodem jest rama i metalowe części motocykla
("masa").
Bieguny ujemne akumulatora i alternatora
połączone są na "masę". Kontrola
pracy alternatora i regulatora napięcia realizuje lampka
kontrolna II)j20E (czerwona). Jeżeli lampka gaśnie przy
pracującym silniku, to świadczy to o sprawnym
alternatorze i regulatorze napięcia.
Do kontroli
ciśnienia oleju w silniku zamontowany jest czujnik
awaryjnego ciśnienia oleju MM126, którego
sygnalizatorem jest lampka kontrolna III'20E
(czerwona).
Sygnalizatorem położenia neutralnego
mechanizmu zmiany biegów i włączenia
kierunkowskazów są lampki kontrolne IIA20I'
(zielone), a włączenie długich świateł
sygnalizuje lampka kontrolna II)j20M (niebieska).
Przy montażu
i demontażu elementów osprzętu elektrycznego
koniecznym jest przerwanie obwodu wyłącznikiem masy
46.3710.
|

Rys.
33 Schemat elektryczny
1.
Wskaźnik obrotów 162.3726;
2.
Żarówka A12-21-3;
3. Reflektor
PF232W przedni na wózku
bocznym;
4. Żarówka A12-21+6;
5.
Przełącznik 171.3709;
6. Styk;
7.
Czujnik MM126 awaryjnego ciśnienia
oleju;
8. Włącznik BK854T
sygnału
hamowania;
9.
Przewód: wyłącznik 46.3710 - „masa”
regulatora napięcia 33.3702;
10.
Lampa tylna wózka bocznego FP219W; |
11.
Lampka kontrolna PD20D kierunkowskazów;
12.
Lampka kontrolna PD20D czujnika
położenia neutralnego (luz);
13. Lampka kontrolna PD20E awaryjnego
ciśnienia oleju;
14. Przerywacz kierunkowskazów
RS427;
15. Blok
bezpieczników PR11M;
16. Regulator napięcia
33.3702;
17. Przewód pomiędzy „masą”
akumulatora a
wyłącznikiem 46.3710;
18.
Gniazdo 47K;
19. Akumulator 6MTC9; |
20.
Panel przyrządów;
21. Alternator G424;
22.
Nasadka przeciwzakłóceniowa A14;
23.
Wkład PP1 lamp;
23. Lampka tylna 171.3716;
24.
Żarówka A12-5;
25. Reflektor FG137B;
26.
Żarówka A1245+40;
27. Żarówka
A12-4;
28. Lampka kontrolna PD20M świateł
drogowych (długich);
29. Lampka kontrolna PD20E pracy
alternatora;
30.
Stacyjka 141.3704;
31. Przełącznik 181.3709; |
32. Sygnał
dźwiękowy S205B; 33. Przewód pomiędzy
cewką zapłonową
a przerywaczem;
34. Cewka zapłonowa B204;
35.
Świeca zapłonowa A14W,
36. Przerywacz PM302A;
37. Przewód napięciowy;
38.
Prędkościomierz SP102;
39. Włącznik
sygnału stop hamulca ręcznego
13.3720;
40. Żarówka A12-8;
41. Wyłącznik
46.3710;
42. Żarówka A12-1;
43.
Bezpiecznik PR119G
44. Kierunkowskaz 161.3726;
45.
Przewód gniazda |
|

ŹRÓDŁA
ENERGII ELEKTRYCZNEJ
AKUMULATOR
W
motocyklu zamontowany jest akumulator 6MTC9 o nominalnym napięciu
12V i pojemności 9 Ah,
Akumulator dostarcza energii do
wszystkich odbiorników, gdy nie pracuje silnik lub obroty
silnika są niskie. Przy obrotach wału korbowego powyżej
1300 obr/min zasilanie przejmuje alternator, który
równocześnie ładuje akumulator.
Obsługę
akumulatora przeprowadza się zgodnie z instrukcja
eksploatacji akumulatora.
ALTERNATOR
W
motocyklu zainstalowana jest alternator G424 o nominalnym
napięciu 14V i mocy 150 W. Moc maksymalna przy
krótkotrwałych obciążeniach - 200 W. Ciężar
alternatora - 3.7 kg.
Budowa. Alternator jest synchronicznym
generatorem trzyfazowym ze wzbudzeniem elektromagnetycznym i
składa się z następujących elementów:
pokrywa 1 (rys.34), która od strony napędu ma
ekscentryczny w stosunku do osi wirnika cylindryczny nadlew,
służący do regulacji odległości
zazębienia wałka napędowego z kołnierzem dla
umocowania alternatora do obudowy silnika motocykla.
Alternator
od strony wałka napędzającego ma gumowy pierścień
uszczelniający 2, który izoluje wnętrze
alternatora od agresywnego środowiska kartera. W łożyskach
11 jednorazowego smarowania i dwustronnym uszczelnieniem obraca
się wirnik 3 z uzwojeniem wzbudzenia i pierścieniami
komutatora.
Trzyfazowe uzwojenie stojana 4 połączone
jest w gwiazdę z izolowanym punktem zerowym. Końce faz
przylutowane są do śrub, które mocują blok
prostownika 8.
Dwie pokrywy 1 i 6, a także stojan
skręcone są śrubami H6. Szczotki z płaskownikiem
przewodzącym prąd przymocowane są do
szczotkotrzymaczy 7 i |
pokrywy
6 śrubami samozaciskowymi (nie wykręcające się).
W alternatorze zamontowany jest półprzewodnikowy blok
prostownika 8, dostarczający do zacisków alternatora
prąd stały.
Blok prostownika zbudowany jest z trzech
bloków odlanych ze stopu aluminium i ożebrowanych dla
skuteczniejszego odprowadzania ciepła. W każdym z tych
bloków wmontowane są dwie diody prostownicze w
przeciwnych kierunkach i połączone elektrycznie dwoma
szynami: "masa" i"izolowana". Na izolowanej
szynie znajduje się śruba styku.
Nie należy
rozbierać bloku prostownika.
Klemy dla połączenia
alternatora do instalacji elektrycznej motocykla umieszczone są
na wspólnej listwie zaciskowej 5. Maja one podkładki
ograniczające, które uniemożliwiają
nieprawidłowe podłączenie przewodów przy
montażu i odłączenie się w czasie
eksploatacji.

Rys.
34 Alternator G424
1.
Pokrywa,
2. Pierścień uszczelniający,
3. Wirnik,
4. Uzwojenie stojana;
5. Listwa zaciskowa;
6. Pokrywa
tylna;
7. Szczotkotrzymacz;
8. Blok
prostownika,
9. Wentylator,
10. Pierścień
zabezpieczający,
11. Łożysko;
|
Zasada
działania. Alternator G424 jest trzyfazową maszyną
elektryczną z elektromagnetycznym wzbudzeniem. Cechy
charakterystyczne alternatora, to: przy małej prędkości
obrotowej uzwojenie wzbudzenia powinno być zasilane z
zewnętrznego źródła (akumulatora), a po
wzbudzeniu i obrotach wyższych niż 2400 obr/min,
alternator pracuje z samowzbudzeniem.
Eksploatacja alternatora
przy całkowicie rozładowanym akumulatorze jest
niemożliwa - alternator nie wzbudzi się.
Zabrania
się eksploatowania alternatora bez obciążenia !
W
czasie eksploatacji alternatora bez obciążenia
(oberwanie przewodów do odbiorników energii) i
dużej prędkości obrotowej napięcie
międzyfazowe prądu zmiennego osiąga wartości
mogące uszkodzić elementy półprzewodnikowe
prostownika i uszkodzić alternator.
Montaż do
motocykla. Kołnierz mocujący pokrywy od strony wału
napędzającego należy wstawić w otwór
mocujący obudowy silnika. Równocześnie koła
zębate powinny zazębić się, a szpilki - wejść
w przedłużone otwory kołnierza alternatora.
Pomiędzy czołowymi płaszczyznami alternatora i
obudowy silnika powinna być podkładka.
Należy
nałożyć na szpilki podkładki płaskie
oraz sprężynujące i nakręcić nakrętki,
tak aby alternator lekko przylegał do obudowy silnika.
Podłączyć przewody do śrub kłem i
nałożyć ochronne kapturki.
Włączyć
silnik i powoli obracając alternator raz zgodnie z ruchem
wskazówek zegara a raz w przeciwna stronę ( na małej
prędkości obrotowej silnika) należy znaleźć
optymalne położenie zazębiania się kół
zębatych, przy których praca jest najcichsza. Nie
zmieniając położenia alternatora, dokręcić
nakrętki.
Nieprawidłowe sprzęgniecie koła
zębatego napędzającego może doprowadzić
do złamania wału alternatora.
Obsługa
alternatora. Konstrukcja alternatora powoduje, że podczas
eksploatacji alternator wymaga minimum obsługi. Zastosowanie
łożysk jednorazowego smarowania powoduje, że nie
wymagają one okresowego smarowania w czasie eksploatacji
alternatora. Na komutatorze alternatora nie wytwarza się
nagar, komutator mało się zużywa i nie
zanieczyszcza pyłem ze szczotek, dlatego nie wymaga
okresowego czyszczenia i szlifowania.
Szczotki umieszczone w
alternatorze wystarczają na cały okres eksploatacji
motocykla.
W czasie eksploatacji wystarczy sprawdzać
zamocowanie nakrętek na śrubach komutacyjnych i
zamocowanie końcówek kabli, śrub ściągających
alternatora, nakrętki zamocowania wentylatora i nakrętek
mocujących alternator.
Po przebiegu 20 000 km należy
oczyścić od pyłu szczotek węglowych
powierzchnię pokrywy od strony komutatora. Dla wygody poleca
się zdjąć alternator z motocykla i
szczotkotrzymacze wraz ze szczotkami.
Zabrania się
rozbierać alternator do czas upłynięcia gwarancji
!
|
REGULATOR
NAPIĘCIA
Alternator
G424 współpracuje wraz z bezstykowym regulatorem
napięcia 33.3702. Regulator napięcia przeznaczony jest
do automatycznego utrzymania napięcia na wyprowadzeniach
alternatora i sterowania lampką kontrolną ładowania
akumulatora: po włączeniu silnika lampka kontrolna
gaśnie, co sygnalizuje sprawność alternatora i
regulatora napięcia (możliwe jest miganie lampki
kontrolnej przy jeździe z prędkością do 30
km/godz. i momentach włączenia dodatkowego obciążenia
w obwodzie elektrycznym).
Przy montażu regulatora
napięcia na motocykl należy zwrócić uwagę
aby obudowa regulatora była pewnie połączona
z"masą" motocykla (ramą).
ODBIORNIKI
ENERGII ELEKTRYCZNEJ
Aby
otrzymać wysokie napięcie dla iskry zapłonowej
silnika, motocykl wyposażony jest w cewkę zapłonowa
B204 i przerywacz IIM302A z urządzeniem opóźnienia
zapłonu.
Rozmieszczenie cewki zapłonowej i
przerywacza przedstawiono na rys 35. Cewka zapłonowa B204 ma
dwa wyprowadzenia, z których każde zasila jedną
ze świec cylindra i współpracuje z przerywaczem,
który jest wyposażony w mechanizm opóźnienia
zapłonu.
Rys.
35 Cewka zapłonowa i przerywacz z urządzeniem
opóźnienia zapłonu.
1. Cewka B204;
2.
Przerywacz PM3 02A;
|
Przerwę
pomiędzy elektrodami wysokiego napięcia ustala się
na 9 mm. W czasie eksploatacji nie powinno się dopuszczać
do zwiększenia lub zmniejszenia przerwy, poluzowania
przewodów, zwarcia przewodów i klem.
PRZERYWACZ
Z URZĄDZENIEM OPÓŹNIENIA ZAPŁONU
Przerywacz
powinien być utrzymywany w czystości, równocześnie
należy sprawdzać zamocowanie przerywacza, oliwić
filc i powierzchnie trące mechanizmu opóźnienia.
Przerywacz należy przecierać czystą szmatką
zamoczoną w benzynie.
Na początku użytkowania
po 500 km, a w czasie eksploatacji co 5000 km sprawdzać stan
styków, a w razie konieczności wyregulować
przerwę. Czyszczenie styków wykonywać pilnikiem
lub innym przyrządem, który nie pozostawia pyłu.
Przy czyszczeniu należy spiłować zgrubienie na
jednym ze styków, natomiast piłowania drugiego styku
nie zaleca się. Po oczyszczeniu styki należy przemyć
czystą benzyną i ustawić przerwę 0.4 - 0.6
mm.
Po każdych 5000 km oś dźwigni przerywacza,
przerwę pomiędzy osią a ciężarkiem,
smarować jedna kropla oleju przekładniowego T22. Filc
smarować 2-3 kroplami oleju T22.
PRACA
UKŁADU ZAPŁONOWEGO
Przy
załączeniu zapłonu załącza się
uzwojenie pierwotne cewki zapłonowej. Przy rozwarciu styków
przerywacza na wtórnej cewce indukuje się prąd
wysokiego napięcia (10 000 -15 000 V), niezbędny dla
zapłonu mieszanki i następuje równoczesny
przeskok iskry pomiędzy elektrodami świec w lewym i
prawym cylindrze; jedna iskra generuje się w czasie, gdy w
jednym cylindrze kończy się suw sprężania a
druga - w czasie suwu wydechu.
REFLEKTOR,
WSKAŹNIKI, OŚWIETLENIE MOTOCYKLA I WÓZKA
BOCZNEGO, SYGNAŁ DŹWIĘKOWY I WŁĄCZNIK
SYGNAŁU HAMOWANIA
W
motocyklu zainstalowano reflektor typu FG137B. W reflektorze
zamontowane są: żarówka długich i krótkich
świateł oraz światła postojowe.
Lampki
kontrolne pracy alternatora, awaryjnego ciśnienia oleju,
neutralnego położenia dźwigni zmiany biegów,
włączenia biegu wstecznego i włączenia
świateł drogowych, prędkościomierz z lampką
podświetlenia i stacyjka umieszczone są na panelu
przyrządów pomiarowych i kontrolnych.
Ustawienie
światła należy przeprowadzić następująco:
-
motocykl (wraz z obciążeniem ustawić na równej
powierzchni przed białą ścianą lub ekranem w
odległości 10 m od reflektora (rys.36); |
-
poluzować śruby mocujące reflektor i ustawić
go tak, aby wiązka światła długiego była
pozioma tzn. środek światła na ekranie i środek
reflektora znajdują się na tej samej wysokości od
powierzchni placu;
- sprawdzić światło krótkie.
Górna granica-światła krótkiego na
ekranie lub ścianie powinna się znajdować poniżej
wysokości środka reflektora nie mniej niż 10 cm. -
dokręcić śruby mocujące reflektor;

Rys.
36 Schemat ustawiania świateł
Na
motocyklu zamontowane są kierunkowskazy z żarówkami
A12-21-3.
Na błotniku tylnego koła zamontowana jest
lampa 171.3716 koloru czerwonego z żarówkami A12-21-3
i A12-5; w dolnej części znajduje się
podświetlenie tablicy rejestracyjnej w kolorze białym.
W
przedniej części błotnika na wózku bocznym
zamontowana jest lampa podwójna PF232W; w części
z kloszem pomarańczowym zamontowana jest żarówka
A12-21-3, a w części z kloszem białym -żarówka
A12-8.
Na tylnej części błotnika wózka
bocznego znajduje się lampa podwójna PF219W; w części
z kloszem pomarańczowym zamontowana jest żarówka
A12-21-3, a w sekcji z kloszem czerwonym -żarówka
A12-21+6.
W motocyklu zamontowano sygnał dźwiękowy
S205G. Sygnał ten pracuje po załączeniu zapłonu
i naciśnięciu przycisku z lewej strony kierownicy.
W
charakterze włączników sygnału hamowania w
motocyklu zamontowano włączniki WK854 i 13.3720.
PRZEWODY
ELEKTRYCZNE
Źródła
i odbiorniki energii elektrycznej oraz przyrządy pomocnicze
połączone są miedzy sobą przewodami. Dla
wygody montażu przewodów (z wyjątkiem przewodów
wysokiego napięcia) połączone są one w
wiązki. Przewody - połączone są miedzy sobą
i z odbiornikami za pomocą łączników
metalowych. Dla ochrony przed zwarciem do masy łączniki
te pokryte są rurkami izolacyjnymi (gumowymi), natomiast
końce przewodów kapturkami izolacyjnymi (gumowymi).
|
Wiązki
przewodów przymocowane są do ramy motocykla i do
wózka bocznego za pomocą taśm i chomątek
zaciskowych.
Wszystkie urządzenia sygnalizacyjne i
świetlne zabezpieczone są bezpiecznikami. Blok
bezpieczników PR11M znajduje się na wsporniku pod
panelem przyrządów. W bloku zastosowano 4
bezpieczniki na 15 A.
Górny bezpiecznik Nr 1
zabezpiecza przed zwarciem obwód przełącznika
"dzień-noc". Bezpiecznik Nr 2 zabezpiecza przed
zwarciem obwód świateł pozycyjnych. Bezpiecznik
Nr 3 zabezpiecza przed zwarciem obwód sygnału
dźwiękowego, włącznik światła
"stop" hamulca ręcznego i nożnego oraz obwód
lampek kontrolnych "położenie neutralne zmiany
biegów" i "awaryjnego ciśnienia oleju".
Bezpiecznik Nr 4 zabezpiecza przed zwarciem obwód
przerywacza kierunkowskazów. Zamiast bezpiecznika na 15 A
w tym obwodzie można zamontować bezpiecznik 10 A.
Sposoby
wykrycia uszkodzeń w obwodach elektrycznych i urządzeniach
motocykla
Na
uszkodzenia w instalacji elektrycznej wskazuje nieprawidłowa
praca źródeł i odbiorników energii
elektrycznej (alternatora, przerywacza, urządzeń
kontrolno-pomiarowych, oświetlenia itd.).
Przy tym mogą
wystąpić następujące uszkodzenia:
-
przerwanie przewodu lub poluzowanie połączeń
pomiędzy źródłem zasilania a odbiornikiem
energii elektrycznej;
- uszkodzenie bezpiecznika topikowego
lub elementów komutacyjnych (np. stacyjka, przełączniki,
czujniki itd.);
- zwarcie lub przeciążenie w
obwodzie, w wyniku czego następuje przepalenie
bezpieczników
Przed przystąpieniem do przeglądu
obwodu elektrycznego należy upewnić się, że
bezpiecznik jest dobry. Bezpiecznik można sprawdzić za
pomocą lampki kontrolnej - jeden koniec przewodu połączyć
z "+" akumulatora, a drugi - do jednej ze stron
sprawdzanego bezpiecznika. Drugi koniec bezpiecznika połączyć
poprzez lampkę kontrolną z "-" akumulatora
lub z korpusem motocykla ("masa"). Jeżeli
bezpiecznik jest dobry to lampka świeci.
Przy sprawdzaniu
obwodów elektrycznych należy:
- włączyć
stacyjkę;
- załączyć sprawdzany obwód
z odbiornikami. Jeżeli odbiornik nie pracuje, a bezpiecznik
jest dobry, to uszkodzony jest obwód elektryczny lub sam
odbiornik. Sprawdzenie zasilania należy rozpocząć
od zacisków na odbiorniku. Przy tym możliwe są
następujące warianty:
|
-
brak napięcia na zaciskach odbiornika (lampka kontrolna nie
świeci) - sprawdzić obwód elektryczny od
odbiornika do źródła zasilania.
- możliwe
jest przerwanie przewodu lub brak styku na połączeniach
przewodów. W tym przypadku należy albo przeczyścić
styki albo wymienić przewód.
- zasilanie dochodzi
do styków odbiornika (lampka kontrolna swieci) sprawdzić
odbiornik (przepalone żarówki wymienić na
nowe).
Jeżeli bezpiecznik przepala się po załączeniu
zasilania, to w obwodzie jest zwarcie. Należy koniecznie
usunąć przyczynę zwarcia i ponownie załączyć
stacyjkę i dany obwód elektryczny. Sprawdzenie
przeprowadzić w kolejności opisanej
powyżej.
Sprawdzenie zasilania po stronie pierwotnej
cewki wysokiego napięcia przeprowadzić przy zwartych
stykach przerywacza.
Wykrycie
uszkodzeń w alternatorze i regulatorze napięcia
Jeżeli
lampka kontrolna pracy alternatora i regulatora nie świeci
się przy załączonym zapłonie, to należy
sprawdzić połączenia na zaciskach na regulatorze
napięcia i akumulatorze, połączenie obudowy
regulatora z"masą", obecność napięcia
na zacisku "+" regulatora napięcia.
Jeżeli
sprawdzenie to nie przyniosło rezultatu, należy
sprawdzić obwód lampki kontrolnej od panelu
przyrządów do zacisku "TIK" regulatora
napięcia. W tym celu należy odpiąć przewód
od zacisku "TIK" na regulatorze napięcia, włączyć
zapłon i dotknąć odłączonym przewodem do
zacisku "+" regulatora napięcia.
Jeżeli
w tym przypadku lampka nie zaświeci się, gdy napięcie
na zacisku "+" jest prawidłowe, należy
sprawdzić przewody, pewność styków i lampkę
kontrolną.
Jeżeli lampka kontrolna zaświeci się
przy zamykaniu obwodu, to uszkodzony jest regulator napięcia,
który należy wymienić na nowy.
Jeżeli
lampka kontrolna alternatora i regulatora napięcia nie
gaśnie po uruchomieniu silnika, to przy pracującym
silniku należy włączyć światła
długie, a następnie wyłącznikiem "masy"
odłączyć akumulator.
Przy sprawnym alternatorze
i jego obwodzie wzbudzenia, silnik powinien dalej pracować,
a natężenie światła powinno zmieniać się
nieznacznie. W tym przypadku świecenie lampki kontrolnej
świadczy o złym styku na klemach akumulatora lub
uszkodzeniu regulatora napięcia, który należy
wymienić. W żadnym przypadku nie należy sprawdzać
alternatora poprzez połączenie do "masy"
zacisku oznaczonego znakiem "+", ponieważ można
uszkodzić w ten sposób prostownik umieszczony w
alternatorze. |
Takie
same skutki może mieć błędne połączenie
„+” akumulatora do korpusu ("masy")
motocykla.
Jeżeli silnik przy średnich obrotach
gaśnie po odłączenie klemy "+"
akumulatora, to należy przede wszystkim sprawdzić prąd
w obwodzie wzbudzenia alternatora. Do tego należy, przy nie
pracującym silniku i załączonym zapłonie,
odłączyć przewód od zacisku "III"
regulatora napięcia i krótkotrwale dołączyć
go do zacisku "+" regulatora napięcia. Jeżeli
przy tym pojawia się niewielka iskra, to obwód
wzbudzenia alternatora jest dobry.
Brak iskrzenia na zacisku
"+" wskazuje (jeżeli nie jest uszkodzony przewód
zacisku "III" od alternatora do regulatora napięcia)
na uszkodzenie alternatora. Po sprawdzeniu przewodów i
połączeń (akumulatora, alternatora i regulator
napięcia) należy sprawdzić alternator.
Alternator
i jego prostownik także można sprawdzić przy
pomocy lampki kontrolnej przy niepracującym silniku.
Dla
sprawdzenia prostownika należy odłączyć
alternator od obwodu, a następnie wykonać następujące
czynności:
1. Połączyć "+"
akumulatora do zacisku "-" alternatora, a "-"
akumulatora poprzez lampkę kontrolną do korpusu
alternatora. Kontrolka przy tym nie powinna świecić.
Następnie "+" akumulatora połączyć
do korpusu alternatora, a "-" akumulatora do zacisku
alternatora poprzez lampkę kontrolną. Kontrolka powinna
świecić. Jeżeli w pierwszym przypadku kontrolka
zaświeciła się to uszkodzony jest prostownik
półprzewodnikowy (dolna dioda półprzewodnikowa).
Jeżeli w drugim przypadku kontrolka nie świeci się,
to przerwany jest obwód „-” - "masa"
alternatora.
2. Połaczyć „+” akumulatora
z zaciskiem „+” alternatora, a „-”
poprzez kontrolkę do zacisku „-” alternatora.
Kontrolka nie powinna przy tym świecić. Następnie
„+” akumulatora połaczyć z zaciskiem „-”
alternatora, a „-” z „+” alternatora
poprzez kontrolkę. Kontrolka powinna przy tym świecić.
Jeżeli w pierwszym przypadku kontrolka świeci, to
uszkodzony jest prostownik półprzewodnikowy (górna
dioda półprzewodnikowa). Jeżeli w drugim
przypadku kontrolka nie świeci, to przerwany jest obwód
od zacisku „-” do zacisku „+”
alternatora.
Oprócz tego należy sprawdzić
obwód wzbudzenia alternatora, również za
pomocą lampki kontrolnej. Należy połączyć
"+" akumulatora poprzez kontrolkę z zaciskiem "U"
(bocznik alternatora), odłączyć zacisk „-”
od regulatora napięcia, a "-" alternatora połączyć
z korpusem alternatora.
Obracając wirnikiem alternatora
za pomocą dźwigni rozruchowej motocykla, należy
obserwować sposób świecenia kontrolki. Jeżeli
kontrolka świeci i nie miga, oznacza to dobry stan połączeń
w obwodzie wzbudzenia. Świecenie przerywane wskazuje na zły
styk pomiędzy szczotkami i komutatorem lub komutatora z
wyprowadzeniami uzwojenia wzbudzenia alternatora.
|
OBSŁUGA
URZĄDZEŃ ELEKTRYCZNYCH
W
czasie codziennego przeglądu należy sprawdzać
pracę reflektora, sygnału dźwiękowego,
oświetlenia motocykla, akumulatora, alternatora i aparatu
zapłonowego.
W przypadku uszkodzenia żarówek
w reflektorze należy je wymienić na nowe. Aby wymienić
żarówkę świateł postojowych, należy
wyjąć wkład wraz z żarówką, a
następnie żarówkę. Przy wymianie
przepalonych żarówek kontrolek należy wyjąć
cała lampę z obudowy panelu a następnie
żarówkę.
Przy pogorszeniu się sygnału
dźwiękowego należy go wyregulować,
przekręcając śrubę regulacyjną w jedna i
druga stronę.
Po każdych 5000 km przebiegu należy
sprawdzić:
- przerwę pomiędzy elektrodami świec
i w razie potrzeby oczyścić świece z nagaru;
-
mocowanie przewodów w zaciskach;
- zamocowanie i stan
lamp, oczyścić kurz z elementów odblaskowych
oraz szkła reflektora;
Przed wymianą przepalonego
bezpiecznika należy znaleźć i usunąć
uszkodzenie w obwodzie elektrycznym.
W czasie eksploatacji
motocykla należy okresowo sprawdzać pewność
zamocowania prędkościomierza na panelu przyrządów
i jego połączenie z linką prędkościomierza
(wałkiem giętkim). Przy pojawieniu się zgrzytów
należy wlać olej od czoła króćca lub
do smarowniczki urządzenia. W tym celu należy wyjąć
prędkościomierz i przeczyścić otwór w
zaślepce. Następnie prędkościomierz ułożyć
tak, otwór smarowniczy, a przy jego braku - czoło
króćca były na wierzchu, wkropić pięć
- sześć kropli oleju izoparafinowego HI-IM-1 lub innego
równorzędnego.
|
MOŻLIWE
USZKODZENIA I SPOSOBY ICH USUNIĘCIA
| USZKODZENIE |
PRZYCZYNA |
SPOSÓB
USUNIĘCIA |
| Silnik |
| Silnik
nie zapala |
Brak
iskry na świecach:
uszkodzone świece; |
Oczyścić
świece, ustawić przerwę; w razie konieczności
wymienić na nowe; |
| Nieprawidłowa
przerwa na świecach lub przypalone styki przerywacza |
Ustawić
przerwę, oczyścić elektrody; |
| Spalona
cewka zapłonowa; |
Wymienić
cewkę |
| Przebity
kondensator; |
Wymienić
kondensator; |
| Brak
styku w połączeniach przewodów lub w
przełączniku awaryjnego wyłączenia
zapłonu; |
Poprawić
połączenia i styki; |
| Brak
przerwy na zaworach; |
Wyregulować
zawory; |
Brak
paliwa w gaźnikach:
Zatkany otwór w korku
zbiornika paliwa |
Oczyścić
otwór; |
| Zatkany
kranik lub odstojnik; |
Oczyścić,
przemyć kranik lub odstojnik |
| Zatkane
gaźniki (dysze, kanały, filtr paliwa; |
Oczyścić,
przemyć gaźniki; |
| Poluzowane
mocowanie gaźnika; |
Poprawić
mocowanie; |
| Zła
jakość paliwa; |
Zmienić
paliwo; |
| Silnik
przegrzewa się |
Źle
ustawiony zapłon; |
Ustawić
zapłon zgodnie z normą |
| Brak
synchronizacji w pracy gaźników; |
Wyregulować
gaźniki; |
| Bogata
lub uboga mieszanka; |
Wyregulować
gaźniki; |
| Zabrudzony
element filtrujący filtra powietrza; |
Wymienić
lub przemyć element filtrujący; |
| „Fałszywe”
powietrze w połączeniach; |
Uszczelnić
połączenia; |
| Złe
chłodzenie spowodowane brudem na cylindrach; |
Oczyścić
silnik z błota; |
| Silnik
nie pracuje regularnie, pracuje na jednym cylindrze; |
Zła
przerwa w przerywaczu; |
Ustawić
przerwę; |
| Zła
przerwa w odgromniku cewki zapłonowej; |
Ustawić
przerwę; |
| Nie
pracuje jedna ze swiec; |
Wymienić
świecę na nową; |
|
| USZKODZENIE |
PRZYCZYNA |
SPOSÓB
USUNIĘCIA |
| |
Przebita
izolacja przewodów wysokiego napięcia lub zły
styk w ich połączeniach; |
Sprawdzić
przewody i połączenia, w razie potrzeby wymienic na
nowe; |
| Rozregulowane
przerwy na zaworach; |
Wyregulować
przerwę; |
| Rozregulowane
gaźniki; |
Wyregulować
gaźniki; |
| Stuki
w silniku; |
Źle
ustawiony zapłon (za wczesny); |
Ustawić
zapłon zgodnie z instrukcją; |
| Rozregulowane
przerwy na zaworach |
Wyregulować
gaźniki na synchroniczność, ustawić
przerwy na zaworach; |
| Paliwo
niskooktanowe; |
Wymienić
paliwo; |
| Nagar
na tłokach i głowicach; |
Oczyścić
elementy z nagaru; |
| Zużycie
zespołu cylinder - tłok; |
Wymienić
zużyte elementy; |
| Silnik
nie osiąga pełnej mocy; |
Źle
ustawiony zapłon; |
Ustawić
zapłon zgodnie z instrukcją; |
| Rozregulowane
lub brudne gaźniki; |
Wyregulować
gaźniki na synchroniczność i jakość
mieszanki; |
| Nieścisłe
przyleganie zaworów; |
Przemyć,
oczyścić zawory z nagaru, dotrzeć zawory; |
| Zabrudzony
filtr powietrza; |
Wymienić
lub przemyć element filtrujący; |
| Przegrzany
silnik; |
Ostudzić
silnik; |
| Silnik
zużywa dużo paliwa; |
Źle
ustawiony zapłon |
Ustawić
zapłon zgodnie z instrukcją |
| Rozregulowane
gaźniki; |
Wyregulować
gaźniki; |
| Złe
ustawiona zbieżność kół motocykla,
niskie ciśnienie w oponach; |
Ustawić
zbieżność zgodnie z instrukcją,
podpompować opony; |
| Źle
wyregulowane hamulce w kołach; |
Wyregulować
hamulce zgodnie z instrukcją; |
| Zużycie
zespołu tłoków; |
Wymienić
zużyte elementy; |
|
| USZKODZENIE |
PRZYCZYNA |
SPOSÓB
USUNIĘCIA |
| Sprzęgło |
| Sprzęgło
ślizga się |
Niepełne
włączanie z powodu złej regulacji; |
Wyregulować
sterowanie wyłączania sprzęgła; |
| Zaoliwienie
okładzin tarcz sprzęgła,
zużycie okładzin tarcz sprzęgła; |
Przemyć
okładziny benzyną, oczyścić lub wymienić
tarcze; |
| Skrzynia
biegów |
| Wycieki
oleju po rowkach wału; |
Złącze
uszczelki wału pierwotnego odeszło od łożyska; |
Docisnąć
złącze do oporu; |
| Wyciek
oleju z odpowietrznika skrzyni biegów; |
Zbyt
dużo oleju w obudowie; |
Zlać
olej do właściwego poziomu |
| Szumy
i zrywy przy zmianie biegów; |
Niewyregulowany
mechanizm zmiany biegów; |
Wyregulować
za pomocą śruby regulacyjnej; |
| Szum
w skrzyni biegów podczas jazdy; |
Zużycie
kół zębatych, za mało oleju w obudowie; |
Wymienić
koła zębate, dolać olej do właściwego
poziomu; |
| Samoczynne
wyłączanie się biegów; |
Zużycie
zębów sprzęgła włączenia; |
Wymienić
zużyte elementy; |
| Poluzowane
zamocowanie tarczy przełączania; |
Wymienić
sprężynę ustalacza; |
| Niewyregulowany
mechanizm wyłączenia |
Wyregulować
mechanizm; |
| Przekładnia
główna |
| Wyciek
oleju z otworu drenażowego kartera lub uszczelnienia
labiryntowego pomiędzy kołem a przekładnią
główną; |
Za
dużo oleju w obudowie; |
Zlać
olej do właściwego poziomu |
| Uszkodzona
uszczelka kołnierzowa, nie dociągnięta;
nakrętka osi koła; |
Wymienić
uszczelkę, dokręcić nakrętkę |
| Nagrzewanie
się obudowy przekładni
głównej; |
Za
mały poziom oleju w obudowie; |
Dolać
olej; |
| Szczęki
hamulcowe trą o bęben;
|
Wyregulować
hamulce;
|
|
| USZKODZENIE |
PRZYCZYNA |
SPOSÓB
USUNIĘCIA |
| Reduktor |
| Wyciek
oleju od strony koła; |
Za
dużo oleju; |
Zlać
olej i dolać 200 cm³ oleju; |
| Duży
luz wału kardana od strony dyferencjału; |
Zużyty
uszczelniacz przekładni głównej; |
Wymienić
uszczelniacz; |
| Poluzowane
mocowanie klina; |
Podciągnąć
klin; |
| Widełki
przednie |
| Stuki
w widełkach przednich; |
Luz
w łożyskach kolumny kierowniczej; |
Usunąć
luz dociągając łożyska; |
| Przerwa
w w połączeniu rur piór z powodu poluzowania
nakrętek; |
Usunąć
luz, dokręcić nakrętki; widełek; |
| Brak
lub za mało oleju w amortyzatorze widełek |
Sprawdzić
wycieki oleju, usunąć nieszczelności, dolać
olej; |
| Duża
przerwa pomiędzy kontrnakrętką a górnym
zakończeniem sprężyny; |
Ustawić
przerwę zgodnie z instrukcją; |
| Zużycie
tulej rur piór widełek; |
Wymienić
tuleje; |
| Amortyzatory |
| Wycieki
z amortyzatorów; |
Zużycie
uszczelki drążka; |
Wymienić
uszczelkę; |
| Uszkodzony
pierścień uszczelniający |
Wymienić
pierścień; |
| Zużyty
drążek; |
Wymienić
drążek; |
| Tylne
zawieszenie mocno się huśta; |
Za
mało oleju w amortyzatorze; |
Rozebrać
amortyzator, przemyć i zalać olejem; |
| Górny
zawór tłoczyska nie przylega lub dolny zawór
nie siedzi w gnieździe; |
Rozebrać
amortyzator, przemyć, zawór i czoło tłoka
przetrzeć, wymienić zużyte elementy; |
| Sztywna
praca tylnego zawieszenia; |
Zabrudzone
kanały dozujące na tłoczysku lub na dolnym
zaworze amortyzatora; |
Amortyzator
rozebrać, przemyć i zalać olejem; |
|
| USZKODZENIE |
PRZYCZYNA |
SPOSÓB
USUNIĘCIA |
| Osprzęt
elektryczny |
| Kluczyk
w stacyjce w położeniu I (rys.3): nie świeci
lampka kontrolna pracy alternatora, położenia
neutralnego w skrzyni biegów i awaryjnego ciśnienia
oleju (przy niepracującym silniku), nie działa
sygnał dźwiękowy; |
Spalony
bezpiecznik, przerwa w obwodzie, rozłączony zacisk
„2” lub „3” stacyjki; |
Wymienić
bezpiecznik, usunąć przerwę, połączyć
zaciski. |
| Przy
zmianie obrotów od małych do dużych kontrolka
alternatora i regulatora napięcia nie gaśnie; |
Alternator
nie daje napięcia, uszkodzony regulator napięcia,
zły styk na klemie akumulatora; |
Sprawdzić
połączenia alternatora i regulatora napięcia,
alternator i regulator, oczyścić klemę; |
| Przy
włączaniu lampy głównej świecą
tylko światła długie lub krótkie
(przełącznik świateł sprawny); |
Spalone
jedno włókno żarówki; |
Wymienić
żarówkę; |
| Uszkodzony
styk w przełączniku świateł; |
Poprawić
styki; |
| Ciągłe
świecenie sygnału „STOP”; |
Za
duży naciąg sprężyny we włączniku
sygnału hamowania, zabrudzony zewnętrzny trzpień; |
Wyregulować
naciąg sprężyny przesuwając włącznik,
usunąć brud; |
| Przy
włączaniu przełącznika kierunkowskazów
kierunkowskazy nie świecą |
Spalone
żarówki lub przerwany obwód, uszkodzony
przerywacz kierunkowskazów; |
Wymienić
żarówki, wymienić przerywacz; |
| Spalony
bezpiecznik; |
Wymienić
bezpiecznik; |
|
DOCIERANIE
NOWEGO MOTOCYKLA
Prawidłowe
docieranie nowego motocykla przedłuża żywotność
motocykla. Docieranie motocykla można podzielić na dwa
etapy: przebieg do 1000 km i przebieg od 1000 km do 2000 km
(patrz tabela 1)
Tabela
1. Dopuszczalne prędkości motocykla na dotarciu w km/h
| Bieg |
Przebieg
do 1000 km |
Przebieg
od 1000 do 2000 km |
I
II
III
IV |
20
35
45
60 |
20
40
55
70 |
W
gaźnikach motocykla zamontowane są ograniczniki
otwarcia przepustnicy. Po 2500 km przebiegu należy je
zdemontować.
Przy docieraniu motocykla należy
jeździć po drogach o twardej nawierzchni z obciążeniem
nie przekraczającym 50% maksymalnego.
Dla uniknięcia
przegrzewania się silnika nie należy jeździć
z prędkościami wyższymi niż
dopuszczalne.
Przy docieraniu motocykla nie należy
przekraczać dopuszczalnych prędkości: I bieg - 20,
II - 40, III - 70, IV- 95 km/godz. Jazda z tymi prędkościami
nie powinna trwać długo (nie więcej niż 2 - 3
min.).
Zalecana prędkość jazdy po szosie z
ulepszoną nawierzchnią to 60 -70 km/godz.
|
SZCZEGÓŁY
EKSPLOATACJI
WSKAZÓWKI
OGÓLNE
Przed
przystąpieniem do eksploatacji nowego motocykla należy
zapoznać się z aktualną instrukcją i wykonać
następujące czynności:
- usunąć z
elementów chromowanych pokrycie ochronne
(przeciwkorozyjne) za pomocą miękkiej szmatki
zamoczonej w spirytusie lub czystej benzynie, a następnie
przetrzeć do sucha czystą, miękką szmatką;
-
sprawdzić poziom oleju w silniku, skrzyni biegów,
przekładni głównej, dyferencjale i reduktorze
koła i w razie konieczności dolać olej;
-
sprawdzić i w razie konieczności ustalić ciśnienie
powietrza w kołach i równomierność naciągu
szprych w kołach;
- nalać paliwo do zbiornika
paliwa;
- doprowadzić akumulator do warunków
roboczych, zgodnie z dołączoną instrukcją i
wstawić go na miejsce;
- zamontować na przewody
wysokiego napięcia nasadki świec;
- zamontować
kierunkowskazy koloru pomarańczowego na nadwoziu wózka
bocznego i na przednich widełkach; czerwony - na tylnym
błotniku wózka bocznego;
- ustawić lusterko
wsteczne;
- zamontować wspornik dla numeru
rejestracyjnego i chlapacze;
- zamontować nakładki
na pedał hamulca i pedał zmiany biegów;
-
zamontować zamek urządzenia blokady kierownicy do ramy;
- sprawdzić działanie elementów sterujących,
sprzęgła i hamulca;
- sprawdzić zamocowanie,
zwłaszcza osi kół, wózka bocznego,
kierownicy, przednich widełek i w razie konieczności
dokręcić je;
- sprawdzić działanie systemu
oświetlenia motocykla;
- po uruchomieniu silnika
sprawdzić i w razie konieczności wyregulować
gaźniki na minimalną prędkość obrotową
i synchroniczność pracy cylindrów; Przy obsłudze
motocykla należy stosować oleje i smary według
wskazówek producenta.
Stosowanie innych olejów i
smarów może spowodować uszkodzenie zespołów
silnika.
PRZYGOTOWANIE
DO JAZDY
Dokładne
sprawdzenie motocykla przed wyjazdem stanowi gwarancję
bezawaryjnego działania. Przed jazdą należy
zwrócić uwagę na zamocowanie osi kół
i kierownicy, sprawność hamulców,
kierunkowskazów i włącznika sygnału
hamowania, działanie świateł w lampie głównej
i lampach sygnalizacyjnych.
Koniecznie należy sprawdzić
poziom oleju w obudowach za pomocą próbników
(zgłębników) wmontowanych w korki otworów
wlewowych poszczególnych zespołów motocykla.
Próbniki posiadają po dwa znaki kontrolne: górny
wskazuje na pełny poziom, dolny wskazujący najniższy
dopuszczalny poziom.
|
Próbniki
w skrzyni biegów i przekładni głównej są
jednakowo skonstruowane ale odróżniają się
długością i położeniem znaków
kontrolnych. Do obudowy skrzyni biegów wkręca się
krótszy próbnik. Przy sprawdzaniu poziomu oleju
korka wraz z próbnikiem nie należy wkręcać,
a jedynie wstawić w otwór do oporu.
Ciśnienie
powietrza w oponach należy sprawdzać manometrem i w
przypadku konieczności dopompować opony.
Po
zakończeniu przeglądu i przygotowaniu motocykla należy
uruchomić silnik.
URUCHOMIENIE
SILNIKA
Przy
uruchomieniu motocykla należy:
- włączyć
wyłącznik "masy", ustawiając go w
położeniu BKП.
- sprawdzić położenie
przełącznika awaryjnego wyłączenia zapłonu.
Powinien on znajdować się w skrajnym, dolnym
położeniu;
- sprawdzić i w razie konieczności
ustawić rączkę włączenia biegu
wstecznego w tylne położenie (bieg wsteczny
wyłączony);
- ustawić mechanizm zmiany biegów
w podstawowe neutralne położenie (pomiędzy I i II
biegiem). Przy tym powinna zaświecić się lampka
kontrolna położenia neutralnego, znajdująca się
na panelu przyrządów, przy włączonym
zapłonie;
- otworzyć kran paliwa, ustawiając
jego rączkę w położeniu 0- otwarty
(rys.14);
- jeżeli silnik jest zimny (temperatura
zewnętrzna otoczenia do minus 15°C) to należy
stosować urządzenie rozruchowe gaźników. W
tym celu dźwignie 23 (rys. 15) urządzenia rozruchowego
przekręcić do góry, następnie rączkę
gazu nieznacznie przekręcić "do siebie". Po
zakończeniu podgrzania silnika dźwignie urządzenia
rozruchowego ustawić w położeniu wyjściowym
(w dół). Przy temperaturze zewnętrznej poniżej
15°C zaleca się dodatkowo zastosować zatapiacz
pływaka - naciskając na niego. Następnie kilka
razy nacisnąć na dźwignię urządzenia
rozruchowego.
- wstawić klucz do stacyjki do oporu i
przekręcić go zgodnie z ruchem wskazówek zegara
do pierwszej zaznaczonej pozycji. Przy tym zaświeci się
lampka kontrolna pracy alternatora i ładowania akumulatora,
awaryjnego ciśnienia oleju i położenia neutralnego
mechanizmu zmiany biegów;
- płynnie naciskając
na dźwignie mechanizmu rozruchowego, wprowadzić sektor
uzębiony mechanizmu rozruchowego do zasprzęglenia się
z małym kołem zębatym wału pośredniczącego,
a następnie gwałtownym ruchem nogi przeprowadzić
rozruch silnika. Jeżeli sektor nie zasprzęglił się
(wyczuwa się sztywny opór), należy poruszać
motocyklem do przodu i do tyłu. Próba użycia
siły do przełamania oporu może spowodować
połamanie mechanizmu. W czasie kolejnych "kopnięć"
nogi nie zdejmuje się z dźwigni. |
Po
uruchomieniu silnik należy podgrzać. Podgrzanie silnika
zimnego jest obowiązkowe, ponieważ przy zastygniętym
oleju trące powierzchnie pracują przy niedostatecznym
smarowaniu, co powoduje zwiększenie ich zużycia.
Należy
pamiętać, że po uruchomieniu zimnego silnika
(temperatura powietrza otoczenia poniżej 0°C ) nie
należy rozwijać dużych obrotów. W
przeciwnym przypadku możliwe jest wybicie podkładki
filtra odśrodkowego i olej nie będzie przedostawał
się do łożysk korbowodów, co doprowadzi do
ich uszkodzenia.
Po uruchomieniu silnika lampki kontrolne
pracy alternatora i awaryjnego ciśnienia oleju gasną.
Przy włączeniu dowolnego biegu do jazdy w przód
gaśnie również lampka kontrolna położenia
neutralnego. Przy włączeniu biegu wstecznego lampka ta
świeci.
Normalnie wyregulowany silnik powinien pracować
równomiernie przy małych obrotach, przy przekręconej
do końca "od siebie" rączce gazu (otwarcia
przepustnicy) .
Motocyklem ruszać należy tylko po
podgrzaniu silnika, gdy pracuje równomiernie przy małych
obrotach. Przy temperaturach ujemnych otoczenia i po długotrwałym
postoju zaleca się na pierwszych 3 - 5 km jazdy nie osiągać
dużych obrotów i jechać z prędkością
30 - 40 km/h na II lub III biegu, po to by olej w skrzyni biegów
i przekładni głównej nagrzał się dla
normalnego smarowania kół zębatych i łożysk.
JAZDA
MOTOCYKLEM
Rozpoczynać
jazdę należy tylko na I biegu. Przy ruszaniu z miejsca
nie należy gwałtownie puszczać dźwigni
sterowania sprzęgłem, ponieważ może
doprowadzić do zrywu lub powstania uszkodzeń w
mechanizmach motocykla. Obroty silnika powinny być takie,
żeby silnik nie zgasł przy płynnym włączeniu
sprzęgła.
Motocykl należy rozpędzić
do prędkości 15 -20 km/godz., włączyć II
bieg. Gdy prędkość osiągnie 25 - 35 km/godz.,
włączyć bieg III, a przy prędkości 45
-50 km/godz. - IV, Następnie prędkość należy
regulować raczką "gazu" (otwarcia
przepustnicy).
Po rozpoczęciu jazdy należy
koniecznie sprawdzić sprawność hamulców,
kilka razy przyhamowując motocykl.
Nie należy jechać
długotrwale na I i II biegu, gdy nie wymagają i tego
warunki drogowe, ponieważ silnik osiąga wtedy duże
prędkości obrotowe, ma małe chłodzenie i
szybko się zużywa. Oprócz tego przy jeździe
na niskich biegach następuje znaczne zwiększenie
zużycia paliwa. Dla szybkiej redukcji prędkości
jazdy motocykl należy przyhamować.
Motocykl można
hamować trzema sposobami: hamulcami, silnikiem oraz
hamulcami i silnikiem równocześnie.
|
Pierwszy
sposób hamowania można wykorzystać do szybkiego
zatrzymania motocykla w warunkach dobrej przyczepności kół
do drogi. W tym celu należy rozłączyć
sprzęgło, jednocześnie zmniejszyć prędkość
obrotową silnika ("odjąć gaz") i płynnie
nacisnąć na pedał hamulca tylnego koła i koła
wózka bocznego oraz dźwignię ręczną
przedniego hamulca.
Przy działaniu hamulców na
wszystkie koła stateczność motocykla jest wyższa,
niż przy działaniu jednego hamulca.
Przy hamowaniu
motocykla za pomocą silnika należy zmniejszyć
obroty silnika, nie wyłączając sprzęgła.
Przy znacznym zmniejszeniu prędkości w procesie
hamowania sprzęgło należy wyłączyć,
aby silnik nie zagasł, a w razie konieczności zatrzymać
motocykl przy pomocy hamulców.
Hamowanie silnikiem
można wykonywać na długich pochyłościach
lub na prostych odcinkach drogi, a także w razie
konieczności obniżenia prędkości na śliskiej
drodze.
Równoczesne hamowanie motocykla silnikiem i
hamulcami stosuje się na stromych pochyłościach
oraz przy jeździe na śliskiej drodze, aby zapobiec
poślizgowi. Hamować należy płynnie. Gwałtowne
hamowanie może spowodować poślizg i wywrócenie
się motocykla. Szczególnie niebezpieczne jest
gwałtowne hamowanie w zimie i na mokrej drodze. Przy
ekstremalnym hamowaniu możliwe jest przewrócenie się
motocykla, szczególnie gdy nie używamy hamulca
przedniego koła.
Z tego względu przed rozpoczęciem
eksploatacji należy wypróbować na niewielkiej
prędkości zachowanie się motocykla w czasie
hamowania: oddzielnie hamulcem przedniego koła, hamulcem
koła tylnego i koła wózka bocznego i wszystkimi
naraz przy różnych obciążeniach.
Dla
wytłumienia bocznych bić na przednie koło, które
powstają przy jeździe po nierównej nawierzchni,
służy amortyzator kierownicy typu ciernego.
Stopień
skręcenia amortyzatora zależy od stanu nawierzchni i
prędkości jazdy. Przy jeździe z dużą
prędkością, szczególnie po nierównej
drodze (po bruku), śrubę motylkową amortyzatora
należy dokręcać; przy powolnej jeździe z
częstymi skrętami śrubę motylkowa kierownicy
należy odkręcać, aby nie utrudniać skręcania
motocyklem.
Stateczność motocykla przy skręcie
w prawo i w lewo nie jest jednakowa. Przy skręcie w prawo,
tj. w stronę wózka bocznego, motocykl jest mniej
stateczny na wywracanie się niż przy skręcie w
lewo.
Należy uświadomić sobie, że
określonej prędkości jazdy motocykla odpowiada
określony minimalny promień skrętu. Wraz ze
wzrostem prędkości |
jazdy
dopuszczalny promień skrętu zwiększa się.
Kierownicę motocykla należy skręcać płynnie,
bez zrywów, szczególnie przy skręcie w
prawo.
Przy eksploatacji motocykla należy uważnie
śledzić warunki cieplne pracy silnika, zespołów
przekładni siłowej i mechanizmów
jezdnych.
Oznaką dobrej pracy silnika jest cicha praca i
brak stuków w mechanizmie korbowodowym.
Oznakami
nagrzewania się silnika są: praca silnika przy
samozapłonie, utrata mocy, w rezultacie czego motocykl
powoli nabiera prędkości, pojawienie się
gwałtownego metalicznego stuku w mechanizmie
korbowodowym.
Należy pamiętać, że
długotrwała jazda na przegrzanym silniku może
doprowadzić do awarii. Aby uniknąć przegrzewu,
należy wybierać najbardziej stosowne biegi i odcinki
dróg, przy których silnik nie jest przeciążony.
Dla
ochłodzenia przegrzanego silnika należy przerwać
jazdę i zgasić silnik. Przy zatrzymaniu motocykla
należy zamknąć kran paliwa.
Nie należy
ochładzać silnika wodq, ponieważ może to
doprowadzić do uszkodzenia cylindrów i ich
głowic.
Aby zgasić przegrzany silnik, należy
zmniejszyć do minimum obroty, wyłączyć zapłon
i gwałtownie otworzyć do oporu przepustnice gaźników
za pomocą rączki "gazu".
|
OBSŁUGA
TECHNICZNA
Okres
eksploatacji motocykla zależy w znacznym stopniu od jakości
obsługi i stosowanych materiałów
eksploatacyjnych. Obsługa motocykla polega na regularnym
czyszczeniu i myciu, kontroli stanu technicznego zespołów,
regulacji i smarowaniu.
Do obsługa technicznej motocykla
należą:
- oględziny kontrolne i codzienna
techniczna obsługa;
- obsługa techniczna po 500 km
(okres docierania);
- obsługa techniczna po 2500 km
(okres docierania);
- obsługa techniczna nr 1 (TO-1) po
każdych 500 km;
- obsługa techniczna nr 2 (TO-2) po
każdych 10,000 km;
- obsługa sezonowa (jesienią
i wiosną);
- obsługa po długotrwałym
przechowywaniu.
Pokazane okresy obsługi zalecane są
dla eksploatacji motocykla po drogach o niewielkim zapyleniu.
Przy eksploatacji na drogach zapylonych i pokrytych błotem
okresy obsługi technicznej powinny być skrócone.
Przy każdej obsłudze technicznej oprócz
obowiązkowej listy czynności pojawiają się
dodatkowe niesprawności do usunięcia.
Lista
czynności obsługi technicznej motocykla w zależności
od przebiegu pokazana są w tabeli 2, a stosowane oleje i
smary w tablicy 3.
OGLĘDZINY
KONTROLNE
Oględziny
kontrolne przeprowadza się przed wyjazdem celem sprawdzenia
motocykla, którego stan techniczny powinien odpowiadać
przepisom ruchu drogowego i zaleceniom instrukcji.
|

Rys.37.
Schemat smarowania
|
Tabela
2 - Lista i okresowość czynności obsługi
technicznej
| Opis
czynności |
Poz
Rys
37 |
Ilość
pkt. smar |
Obs
techn. 500 |
Obs
techn. 2500 |
Obs
techn. TO-1 |
Obs
techn. TO-2 |
Stosowane
narzędzia |
| Dokręcenie
szpilek mocujących głowice cylindrów; |
|
|
|
X |
|
X |
Łeb
12 |
| Sprawdzenie
i regulacja przerwy pomiędzy trzonami zaworów a
czołami dźwigni; |
|
|
|
X |
X |
X |
Łeb
13
Klucz 12x13
Szczelino-mierz |
| Przemycie
odstojnika i filtra paliwa w kraniku, zdjęcie i przemycie
gaźników, przedmuchanie sprężonym
powietrzem dysz i kanałów; |
|
|
|
X |
|
X |
Klucz
12x13 |
| Przemycie
i wyregulowanie gaźników na najmniejsze stabilne
obroty biegu jałowego i synchroniczną pracę
cylindrów; |
|
|
X |
X |
X |
X |
Klucz
8x10
Śrubokręt |
| Usunięcie
nagaru z komór spalania głowic cylindrów,
tłoków, pierścieni i zaworów; |
|
|
|
|
|
X |
Klucz
12x13
Klucz 14x17
Nasadki 12 i 13 |
| Zdjęcie
filtra odśrodkowego, rozebranie i oczyszczenie zabrudzeń; |
|
|
|
|
|
X |
Klucz
8x10
Klucz 14x17 |
| Sprawdzenie
poziomu oleju w silniku, w razie potrzeby dolanie oleju; |
5 |
5 |
OC |
OC |
OC |
OC |
|
| Wymiana
oleju; |
|
|
X |
X |
|
X |
|
| Dokręcenie
mocowania gaźników; |
|
|
|
X |
|
X |
Klucz
12x13
Śrubokręt |
| Przedmuchanie
sprężonym powietrzem elementu filtrującego
filtra powietrza; |
|
|
|
|
X |
X |
Klucz
12x13 |
| Wymiana
filtra powietrza; |
|
|
|
|
|
X |
Klucz
12x13 |
| Sprawdzenie
mocowania silnika, skrzyni biegów, przekładni
głównej, dyferencjału, reduktora, zbiornika
paliwa, tłumika, alternatora, wózka bocznego do
motocykla i nadwozia wózka bocznego, lampy głównej
i innych. W razie potrzeby dokręcić mocowania; |
|
|
X |
|
X |
X |
Klucz
12x13
Klucz 14x17
Klucz 19x22
Klucz 36x41
Klucz
sztorcowy 19x21
Klucz oczkowy
19x21 |
|
| Opis
czynności |
Poz
Rys
37 |
Ilość
pkt. smar |
Obs
techn. 500 |
Obs
techn. 2500 |
Obs
techn. TO-1 |
Obs
techn. TO-2 |
Stosowane
narzędzia |
| Sprawdzić
olej w skrzyni biegów, w razie potrzeby dolać, |
6 |
1 |
OC |
OC |
OC |
OC |
|
| Wymienić
olej w skrzyni biegów; |
|
|
X |
|
X |
X |
|
| Nasmarować
łożyska przegubu wału kardana; |
13,
16, 17 |
1 |
|
|
|
X |
Smarownica |
| Nasmarować
rowki reduktora wału kardana; |
14 |
1 |
|
|
X |
X |
Smarownica |
| Sprawdzić
olej w obudowie reduktora, w razie potrzeby dolać |
|
|
OC |
OC |
OC |
OC |
|
| Wymienić
olej w obudowie wału kardana; |
15 |
1 |
X |
|
X |
X |
|
| Sprawdzić
poziom oleju w obudowie przekładni głównej, w
razie potrzeby dolać |
12 |
1 |
OC |
OC |
OC |
OC |
Klucz
14x17 |
| Wymienić
olej w obudowie przekładni głównej; |
|
|
X |
|
X |
X |
|
| Sprawdzić
i wyregulować mechanizmy włączania sprzęgła
i sterowania hamulcami; |
|
|
|
X |
X |
X |
Płasko-szczypce
Klucz
8x10
Klucz 12x13
Klucz 14x17 |
Zdjąć
koło, rozebrać hamulec, przemyć krzywki i
otwory, nałożyć nowy smar na:
- osie krzywek
- gwint stożka
- powierzchnie oporowe
-
szczęki i sprzężone z nimi krzywki i
popychacze;
Nadmiar smaru zebrać. |
18,19
4
2
12 |
|
|
|
|
X |
Klucz
8x10
Klucz 14x17
Klucz 19x22
Pokrętka
Młotek |
| Nasmarować
przeguby sterowania hamulca tylnego |
10 |
10 |
|
|
X |
X |
Smarownica |
| Nasmarować
gwinty nakrętek mocowania rur wydechowych |
20 |
4 |
Przy
de-monta-żu |
Przy
de-monta-żu |
Przy
de-monta-żu |
Przy
de-monta-żu |
Klucz
oczkowy |
| Nasmarować
(2 - 3 krople oleju) na każdą oś dźwigni
oraz linek sterowania sprzęgła i hamulca przedniego; |
9 |
4 |
|
|
X |
X |
Smarownica |
|
| Opis
czynności |
Poz
Rys
37 |
Ilość
pkt. smar |
Obs
techn. 500 |
Obs
techn. 2500 |
Obs
techn. TO-1 |
Obs
techn. TO-2 |
Stosowane
narzędzia |
| Wlać do pancerzy linek sterowania sprzęgła i hamulców 2 - 3 cm3 oleju; |
|
4 |
|
|
X |
X |
|
| Nasmarować suwak i łańcuszek, rączkę i linki sterowania otwarciem przepustnicy (gazu); |
7 |
1 |
|
|
X |
X |
Smarownica Śrubokręt |
| Sprawdzić naciąg szprych w kołach i w razie konieczności podciągnąć; |
|
|
|
X |
X |
X |
Klucz 27 |
| Sprawdzić i wyregulować luz łożysk w kołach; |
|
|
|
X |
X |
X |
Klucz oczkowy 27 |
| Zdjąć koła, wyjąć łożyska piast, usunąć stary smar, wymyć łożyska w nafcie i nasmarować; |
4 |
3 |
|
|
|
X |
Klucz oczkowy 27
Młotek |
| Rozebrać kolumnę kierowniczy przemyć łożyska oporowe, nałożyć świeży smar, założyć; |
1 |
2 |
|
|
X |
|
Klucz14x17 Klucz 36x41 |
| Sprawdzić i wyregulować luz łożysk kolumny kierowniczej; |
|
|
|
X |
X |
X |
Klucz 36x41 |
| Zmienić olej w amortyzatorach widełek przednich kolumny kierowniczej; |
8 |
2 |
|
|
|
X |
Klucz 12x13 Klucz 36x41 |
| Zmienić olej w zawieszeniu
tylnego koła i koła wózka bocznego; |
2 |
3 |
|
|
|
X |
Klucz 14x17 |
| Nasmarować gwinty śrub przegubów mocowania wózka bocznego do motocykla; |
11 |
2 |
Przy regulacji |
Przy regulacji |
Przy regulacji |
Przy regulacji |
|
| Sprawdzić i w razie konieczności dokręcić sworznie ogranicznika ruchów nadwozia i mocowanie resorów gumowych wózka bocznego; |
|
|
|
X |
X |
X |
Klucz 14x17 |
| Sprawdzić i wyregulować zbieżność kół motocykla i wózka bocznego; |
|
|
X |
X |
X |
X |
Klucz 14x17 Klucz 19x22 |
| Pozamieniać koła miejscami; |
|
|
|
|
X |
X |
Klucz 12x13 Klucz 19x22 Klucz 27 |
|